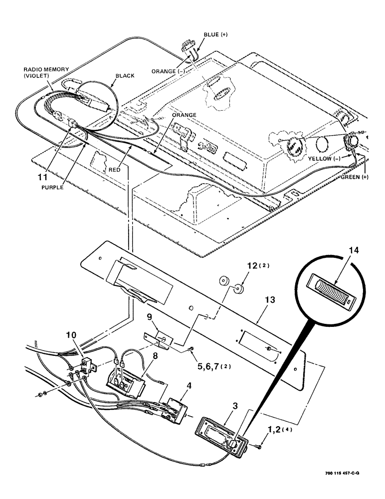
Запчасти Case IH 8830 (4-18) - BLOWER CONTROL PANEL ASSEMBLY (04) - ELECTRICAL SYSTEMS

Схема запчастей Case IH 8830 - (4-18) - BLOWER CONTROL PANEL ASSEMBLY (04) - ELECTRICAL SYSTEMS
12
8
10
13
3
1
14
7
11
6
2
4
9
5
FIT
1:1
100%

Артикул

Название

Примечание

Количество

1

700704132

SCREW,Cross Pan Hd, #6-32 x 3/8"

#6-32 X 3/8 CRPHMS

4шт.

2

704551

NUT

#6-32 H GR2

4шт.

3

8020562

LAMP

DOMELIGHT

1шт.

4

7021785

SWITCH

- blower

1шт.

5

700704837

SCREW,Cross Pan Hd, #10-24 x 3/8"

#10-24 X 3/8 CRPHMS

2шт.

6

705004

LOCK WASHER

#10 L

2шт.

7

NLS

NO LONGER SERVICED

#10-24 H GR 2

2шт.

8

8022337

SWITCH

- thermostat

1шт.

9

700110144

MOUNTING PLATE

MOUNT - circuit breaker

1шт.

10

7025653

CIRCUIT-BREAKER

BREAKER - circuit

1шт.

11

700712487

HARNESS

- radio

1шт.

12

7722622

KNOB

- control

2шт.

13

700110149

PANEL

- control (Includes decal)(S.N. CFH0028001 thru CFH0028895)

1шт.

700124526

PANEL

- control (Includes decal) (S.N. CFH0028896 and later)

1шт.

14

8022816

SWIVEL CONNECTION

BEZEL AND LENS

1шт.

Выбрано товаров: 15