Запчасти Case IH 8830 (5-02) - STEERING COLUMN ASSEMBLY (05) - STEERING

Схема запчастей Case IH 8830 - (5-02) - STEERING COLUMN ASSEMBLY (05) - STEERING
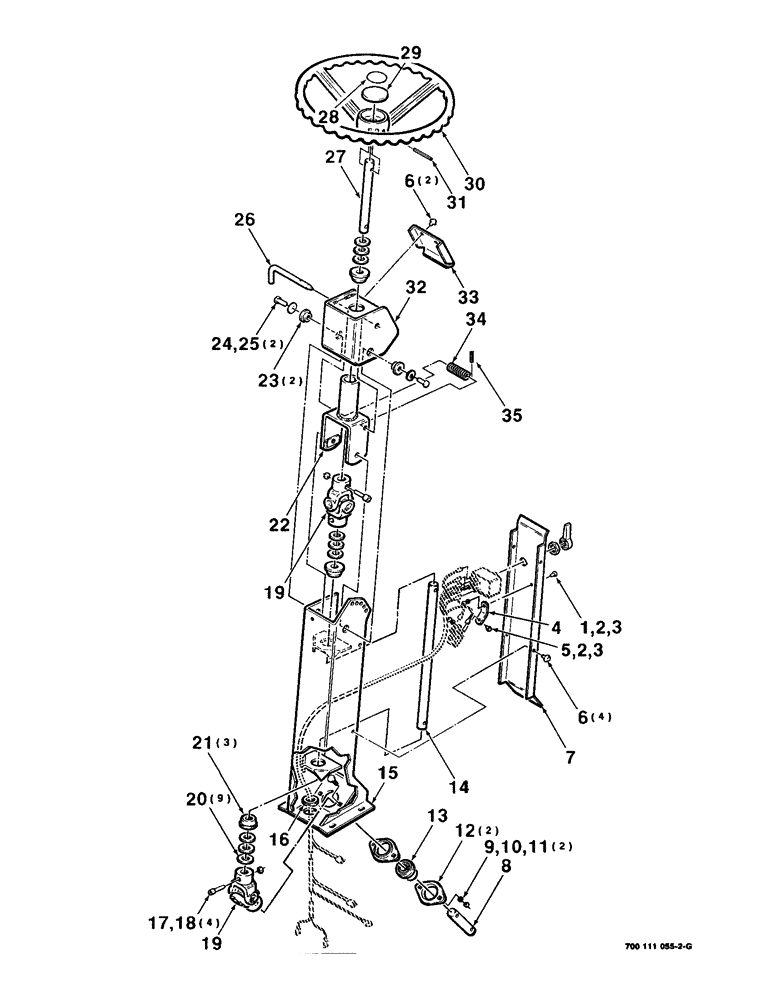
1
24
32
16
33
25
9
6
27
21
6
17
30
34
29
20
11
18
8
15
35
3
7
12
4
5
2
2
19
31
14
19
22
23
13
3
28
10
26
FIT
1:1
100%

Артикул

Название

Примечание

Количество

1

700704837

SCREW,Cross Pan Hd, #10-24 x 3/8"

#10-24 X 3/8 CRPHMS

1шт.

2

705004

LOCK WASHER

#10 L

2шт.

3

NLS

NO LONGER SERVICED

#10-24 H GR2

2шт.

4

700111196

MOUNTING PLATE

MOUNTING - buzzer

1шт.

5

700700628

SCREW,Cross Pan Hd, #10-24 x 1/2"

#10-24 X 1/2 CRPHMS

1шт.

6

701607

BRACKET

1/4-20 X 1/2 HWHTCTS

6шт.

7

700111066

COVER

- column

1шт.

8

700111072

SHAFT

- short

1шт.

9

700013

CARRIAGE BOLT,Sq Nk, 5/16" - 18 x 3/4", Gr 5

5/16-18 X 3/4 RHSNB

2шт.

10

705020

LOCK WASHER

5/16"

2шт.

11

704015

NUT,5/16"-18, G5

5/16-18 H

2шт.

12

711952

LINE

- bearing

2шт.

13

711762

SPHERICAL BEARING,19.05 mm ID x 47 mm OD x 30.96 mm

BEARING - spherical

1шт.

14

700111071

SHAFT

- vertical

1шт.

15

700111056

CHANNEL

WA - post

1шт.

16

8827172

GROMMET

1шт.

17

515-23317

CLAMP,31.75mm ID, 10.3mm Bolt Hole, P Type

5/16-18 X 1-1/2 HSHCS

4шт.

18

704619

SUPPORT

5/16-18 HCLN

4шт.

19

700705553

UNIVERSAL JOINT

U-JOINT ASSEMBLY - single

2шт.

20

52183

BUSHING

3/4 X 18 GA. NRMB

9шт.

21

700705557

BUSHING

- nylon

3шт.

22

700111064

YOKE

- steering

1шт.

23

700705555

BUSHING

- nylon

2шт.

24

703249

BOLT,Hex, 3/8" - 16 x 1", Gr 5

3/8-16 x 1 C

2шт.

25

80702

WASHER,0.44" ID x 1" OD x 0.08" Thk

3/8 HARDENED PLAIN WASHER

2шт.

26

700111068

ROD

PIN - rod

1шт.

27

700111067

SHAFT

- primary

1шт.

28

A180055

CAP ASSY.

DECAL - lens

1шт.

29

775825

PLASTIC

LENS

1шт.

30

7845050

WHEEL (STEERING)

STEERING WHEEL

1шт.

31

63149

LOCK PIN,1/4" x 2 1/2", Slotted

Pin, 1/4" x 2 1/2", Slotted

1шт.

32

700111060

HOUSING

WA - cover

1шт.

33

700111069

COVER

1шт.

34

7758139

SPRING

- compression

1шт.

35

063370

5/32 X 1 SLOTTED SPRING PIN

1шт.

Выбрано товаров: 35