Запчасти Case IH 8830 (5-06) - TRAVEL CONTROL DETENT ASSEMBLY (06) - POWER TRAIN

Схема запчастей Case IH 8830 - (5-06) - TRAVEL CONTROL DETENT ASSEMBLY (06) - POWER TRAIN
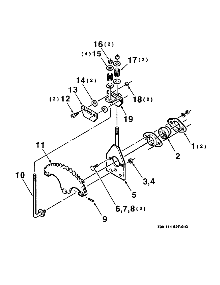
9
19
18
8
12
6
16
2
1
11
15
4
14
13
3
7
5
17
10
FIT
1:1
100%

Артикул

Название

Примечание

Количество

1

711952

LINE

- bearing

2шт.

2

711762

SPHERICAL BEARING,19.05 mm ID x 47 mm OD x 30.96 mm

BEARING - spherical

1шт.

3

704023

NUT,3/8"-16, G5

3/8-16 H

1шт.

4

705038

CONTROL VALVE

3/8"

1шт.

5

700115596

PLATE

- link

1шт.

6

700013

CARRIAGE BOLT,Sq Nk, 5/16" - 18 x 3/4", Gr 5

5/16-18 X 3/4 RHSNB

2шт.

7

705020

LOCK WASHER

5/16"

2шт.

8

704015

NUT,5/16"-18, G5

5/16-18 H

2шт.

9

438-11016

LOCK PIN,5/32" x 1", Slotted

1шт.

10

700111529

ROD

- link

1шт.

11

700111151

SPROCKET

- quadrant

1шт.

12

773820

BOLT,Shoulder, 1/4" - 20 x 5/16"

5/16-18 X 3/8 HSHSS

2шт.

13

700115602

BAR PLATE

PLATE - cam

1шт.

14

700706189

BALL BEARING,8mm ID x 22mm OD x 7mm W

BEARING

2шт.

15

705533

WASHER

3/8 HARDENED PLAIN WASHER

4шт.

16

7704141

EXTENSION

3/8-16 HTLN GR/B

2шт.

17

7758105

SPRING

- compression

2шт.

18

704007

NUT,1/4"-20, G5

1/4-20 H

2шт.

19

700115599

BRACKET

STRAP - cam

1шт.

Выбрано товаров: 19