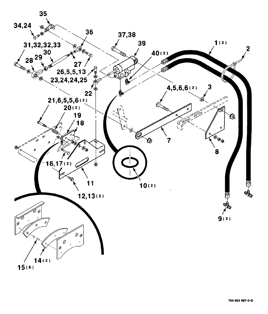
Запчасти Case IH 8840 (09-020) - GROUND SPEED ASSIST KIT (88) - ACCESSORIES

Схема запчастей Case IH 8840 - (09-020) - GROUND SPEED ASSIST KIT (88) - ACCESSORIES
37
7
22
40
26
32
20
1
38
24
16
3
13
24
34
27
8
36
25
9
28
14
5
23
32
6
5
15
39
13
2
4
19
6
10
35
5
31
17
6
18
5
6
5
11
29
33
24
12
30
21
FIT
1:1
100%

Артикул

Название

Примечание

Количество

HK60591

KIT ground speed assist, complete, to be ordered thru wholegoods only

1шт.

1

700710948

HYDRAULIC HOSE,6.35 mm ID x 800.00 mm, SAE 100R1

2шт.

2

L18337

CABLE TIE,9.95"-12.1" lg

CABLE STRAP TIE nylon

1шт.

3

700122212

SPACER

1шт.

4

433-628

CARRIAGE BOLT,Sq Nk, 3/8" - 16 x 1 3/4", Gr 5

square neck, round head, 3/8"-16 x 1-3/4"

2шт.

5

496-11041

WASHER,13/32" x 13/16" x .065", HDN

plain, hardened, 3/8"

8шт.

6

425-106

NUT,3/8"-16, Cl 5

8шт.

7

700121556

ARM

ground speed

1шт.

8

700121557

LARGE PLATE

PLATE, LARGE mounting, Servo

1шт.

9

218-5222

TEE,37 Degree, 9/16"-18, x 9/16"-18, Fem Sw Run

2шт.

10

237-6004

O-RING,0.072" Thk x 0.351" ID, -904, Cl 6, 90 Duro

2шт.

Part of Elbow, Ref. 40, P/N 218-5103.

1шт.

11

700121555

ANCHOR

Servo

1шт.

12

121-226

SERRATED BOLT,Hex, 3/8" - 16 x 1"

2шт.

13

232-5316

FLANGE NUT,Flg, 3/8"-16

lock, hex flange top, 3/8"-16, grade/G

3шт.

14

700711021

BRAKE LINING

brake

2шт.

15

64980

RIVET

6шт.

16

433-440

CARRIAGE BOLT,Sq Nk, 1/4" - 20 x 2 1/2", Gr 5

square neck, round head, 1/4"-20 x 2-1/2"

2шт.

17

1703354

NUT

lock, hex flange top, 1/4"-20, grade/G

2шт.

18

6553572

BRAKE LINING

ASSEMBLY right

1шт.

19

6553556

BRACKET

BRAKE ASSEMBLY left

1шт.

20

7758154

SPRING

compression

2шт.

21

413-648

BOLT,Hex, 3/8" - 16 x 3", Gr 5

2шт.

22

700710788

TRACK ROD END

BEARING rod

1шт.

23

413-520

BOLT,Hex, 5/16" - 18 x 1-1/4", Gr 5

SCREW cap, hex, 5/16"-18 x 1-1/4"

1шт.

24

496-21034

WASHER,11/32" x 11/16" x 0.89", HDN

3шт.

25

232-5315

FLANGE NUT,Flg, 5/16"-18

lock, hex flange top, 5/16"-18, grade/G

1шт.

26

413-620

BOLT,Hex, 3/8" - 16 x 1-1/4", Gr 5

1шт.

27

425-156

JAM NUT,Jam, 3/8"-24, G5

1шт.

28

51391

END

BEARING rod

1шт.

29

425-158

JAM NUT,Jam, 1/2"-20, G5

1шт.

30

700121554

LINK

1шт.

31

413-832

BOLT,Hex, 1/2" - 13 x 2", Gr 5

1шт.

32

705541

WASHER,0.53" ID x 1.06" OD x 0.14" Thk

plain, hardened, 1/2"

2шт.

33

231-5348

FLANGE NUT,Flg, 1/2"-13

lock, hex flange top, 1/2"-13, grade/G

1шт.

34

114-101

BOLT,Hex, 5/16" - 24 x 7/8", Gr 5, Full Thd

cap, hex, 5/16"-24 x 3/4 "

1шт.

35

700121183

BRACKET

1шт.

36

CAS51383

END

BEARING rod

1шт.

37

413-1052

BOLT,Hex, 5/8" - 11 x 3-1/4", Gr 5

SCREW cap, hex, 5/8"-11 x 3-1/4"

1шт.

38

232-53110

FLANGE NUT,Flg, 5/8"-11

lock, hex flange top, 5/8"-11, grade/G

1шт.

39

700710787

SERVO-CONTROL

Servo, see Figure 09-022

1шт.

40

218-5103

90 ELBOW,90 Degree Elbow, 7/16" - 20 Male JIC x 7/16" - 20 Male ORB

90°, Includes: Ref. 10

2шт.

Выбрано товаров: 42