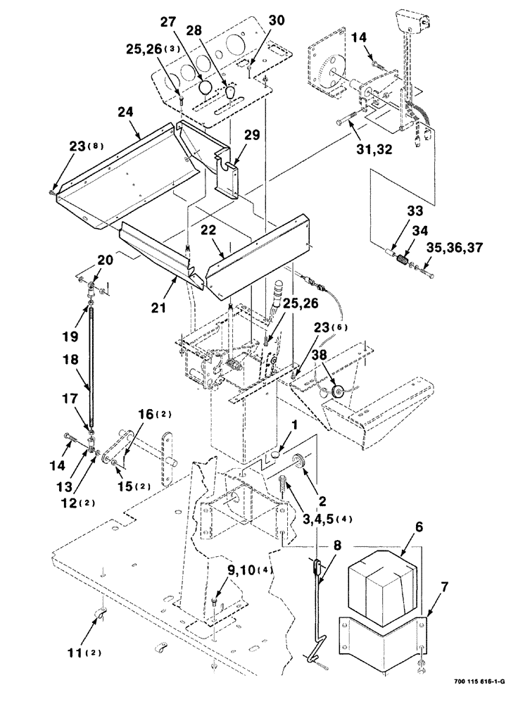
Запчасти Case IH 8840 (07-012) - CONSOLE AND HOOKUP ASSEMBLY (90) - PLATFORM, CAB, BODYWORK AND DECALS

Схема запчастей Case IH 8840 - (07-012) - CONSOLE AND HOOKUP ASSEMBLY (90) - PLATFORM, CAB, BODYWORK AND DECALS
38
34
12
35
14
22
25
1
10
2
26
26
16
3
23
4
37
23
21
36
32
15
31
24
18
27
25
33
5
29
17
28
6
11
13
7
30
19
9
20
14
8
FIT
1:1
100%

Артикул

Название

Примечание

Количество

1

142094

HOLE PLUG BUTTON,1'

button

1шт.

2

248-21110

GROMMET,1" ID x 1 3/8" Groove Dia

1шт.

3

413-824

BOLT,Hex, 1/2" - 13 x 1-1/2", Gr 5

4шт.

4

80679

LOCK WASHER,1/20.507 CST ZND

4шт.

5

425-108

NUT,1/2" - 13, Gr 5

4шт.

6

700707107

PLUG

foam

1шт.

7

700110018

CLAMP

1шт.

8

700115676

ROD

ROD brake

1шт.

9

121-115

SERRATED BOLT,Hex, 5/16" - 18 x 3/4"

4шт.

10

231-5145

SERRATED NUT,Flg, USR, 5/16"-18

4шт.

11

515-25127

CLAMP,1/2", Insul, 1/2" Bolt

2шт.

12

492-11038

LOCK WASHER,3/8"

2шт.

13

700705523

SPHERICAL BEARING,9.52 mm ID x 12.7 mm

rod, left hand thread

1шт.

14

700111557

SCREW

cap, hex, special, 3/8"-16 x 1-1/2"

2шт.

15

425-106

NUT,3/8"-16, Cl 5

2шт.

16

62034

BATTERY

PIN cotter, 3/32" x 3/4"

2шт.

17

129-323

SPECIAL NUT,3/8"-24, G5, LH

1шт.

18

700111010

ROD

link

1шт.

19

425-116

NUT,3/8" - 24, Gr 5

Hex

1шт.

20

CAS51383

END

rod

1шт.

21

700111076

PANEL

front

1шт.

22

700111073

PANEL

inside

1шт.

23

281-1478

SELF-TAP SCREW,1/4" - 20 x 1/2"

tapping, thread cutting, hex washer head, 1/4"-20 x 1/2"

14шт.

24

700111074

PANEL

outside

1шт.

25

163-14

SCREW,Hex Wshr Hd, 1/4" - 20 x 1"

machine, hex washer head, 1/4"-20 x 1"

4шт.

26

231-5144

SERRATED NUT,Flg, USR, 1/4"-20

4шт.

27

721258

KNOB

1шт.

28

173808C1

KNOB

1шт.

29

700111075

PANEL

rear

1шт.

30

129-884

CROWN NUT,Crown, 1/4"-20

closed hex cap, 1/4"-20

1шт.

31

413-644

BOLT,Hex, 3/8" - 16 x 2-3/4", Gr 5

1шт.

32

231-4116

NUT,3/8"-16, GB

lock, hex top, 3/8"-16, grade/B

1шт.

33

700111576

SPACER

1шт.

34

058131

SPRING

1шт.

35

413-528

BOLT,Hex, 5/16" - 18 x 1-3/4", Gr 5

1шт.

36

492-11031

LOCK WASHER,5/16"

1шт.

37

496-21034

WASHER,11/32" x 11/16" x 0.89", HDN

1шт.

38

248-2376

GROMMET,5/8" ID x 1 1/4" Groove Dia, Str Cut

1шт.

Выбрано товаров: 38