Запчасти Case IH 8840 (07-032) - PLATFORM STEPS, RAIL AND TOOL BOX ASSEMBLY (90) - PLATFORM, CAB, BODYWORK AND DECALS

Схема запчастей Case IH 8840 - (07-032) - PLATFORM STEPS, RAIL AND TOOL BOX ASSEMBLY (90) - PLATFORM, CAB, BODYWORK AND DECALS
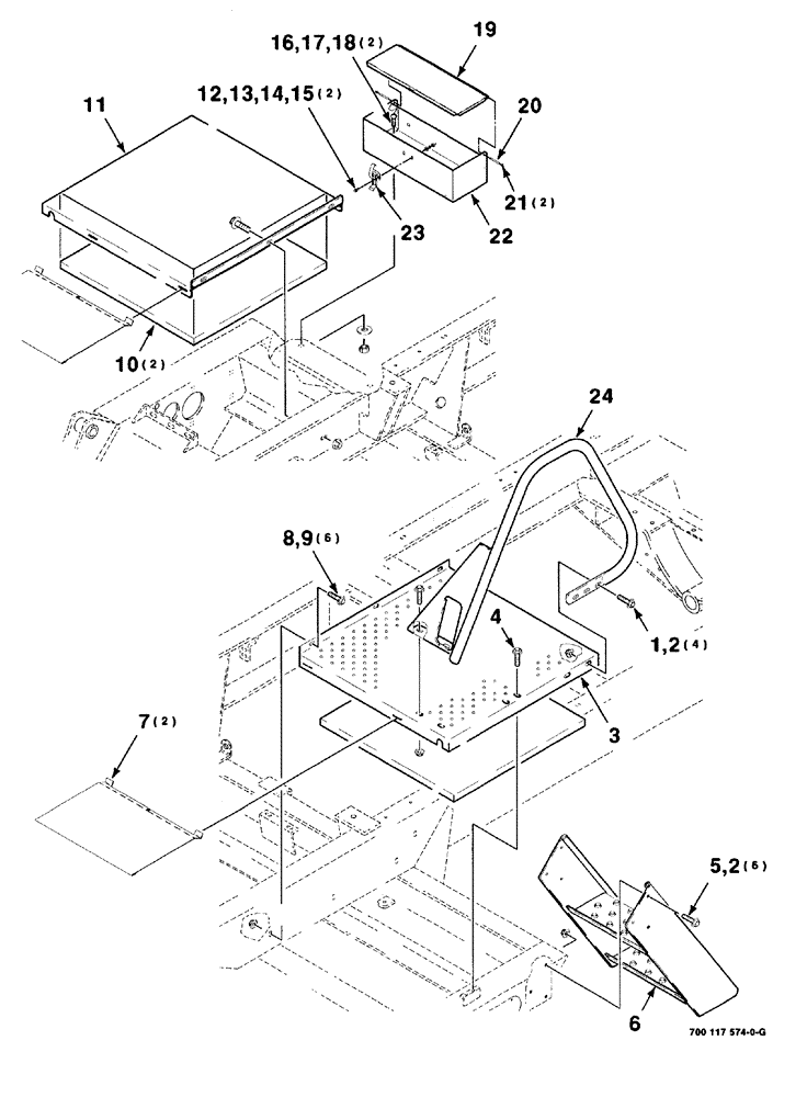
24
10
15
16
12
13
2
8
7
1
4
21
19
6
3
23
11
17
5
9
2
20
14
22
18
FIT
1:1
100%

Артикул

Название

Примечание

Количество

1

121-226

SERRATED BOLT,Hex, 3/8" - 16 x 1"

4шт.

2

231-5146

FLANGE NUT,3/8"-16

10шт.

3

700115750

STEP

left

1шт.

4

121-237

SERRATED BOLT,Hex, 3/8" - 16 x 1 1/4, Spcl

flange, hex, 3/8"-16 x 1-1/4", grade 8

1шт.

5

409-7612

BOLT,3/8"-16 x 1.09" OAL

6шт.

6

700115745

STEP

WA

1шт.

7

700122709

FLAP

2шт.

8

121-115

SERRATED BOLT,Hex, 5/16" - 18 x 3/4"

6шт.

9

231-5145

SERRATED NUT,Flg, USR, 5/16"-18

6шт.

10

700707209

PAD

foam

2шт.

11

700115749

STEP

right

1шт.

12

463-3128

SCREW,Hex Wash Hd, #12-24 x 1/2"

machine, hex washer head, No. 12-24 x 1/2"

2шт.

13

27616R1

WASHER,.281" x 5/8" x .075", HDN

plain, No. 12

2шт.

14

492-11012

LOCK WASHER,#12

2шт.

15

225-14112

NUT,#12-24

hex, No. 12-24, grade 2

2шт.

16

433-612

CARRIAGE BOLT,Sq Nk, 3/8" - 16 x 3/4", Gr 5

2шт.

17

496-11041

WASHER,13/32" x 13/16" x .065", HDN

plain, hardened, 3/8"

2шт.

18

425-106

NUT,3/8"-16, Cl 5

2шт.

19

700115913

LID

LID tool box

1шт.

20

700115914

PIN

hinge

1шт.

21

700707858

SNAP RING

RING

2шт.

22

700115910

TOOL BOX

BOX , WA tool

1шт.

23

700706849

LATCH

1шт.

24

700115439

HANDRAIL

WA

1шт.

Выбрано товаров: 24