Запчасти Case IH 8840 (03-014) - SCREEN ASSEMBLY (10) - ENGINE

Схема запчастей Case IH 8840 - (03-014) - SCREEN ASSEMBLY (10) - ENGINE
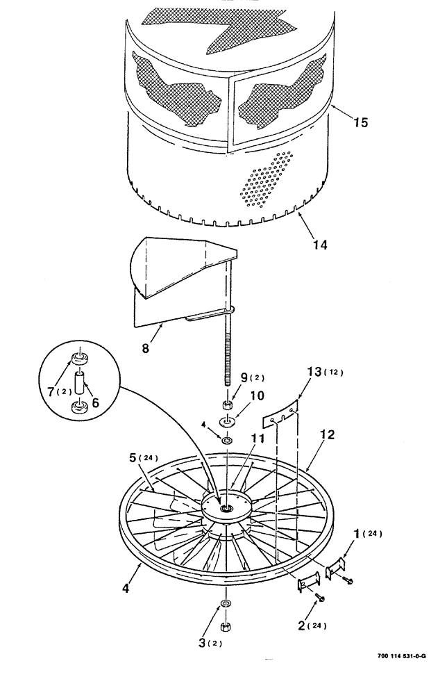
9
4
8
7
3
1
15
14
11
12
13
5
10
6
2
FIT
1:1
100%

Артикул

Название

Примечание

Количество

1

700114534

FIN

24шт.

2

7883275

SCREW,Hex Washer, 1/4" - 20 x 3/4"

machine, hex washer head, 1/4"-20 x 3/4"

24шт.

3

52183

BUSHING

machinery, narrow rim, 3/4" x 18 gauge

2шт.

4

700114830

SUMP

channel

1шт.

5

700710447

SPOKE

ASSEMBLY

24шт.

6

6180566

BUSHING

1шт.

7

713776

BEARING, BALL,19.05mm ID x 41.27mm OD x 12.7mm W

BUSHING

2шт.

8

700114818

SHAFT

VANE air

1шт.

9

425-1012

NUT,3/4"-10, G5

2шт.

10

495-21081

WASHER,3/4"

1шт.

11

700114533

FAN

HUB ASSEMBLY

1шт.

12

700114532

FAN

ASSEMBLY

1шт.

13

700114824

CLIP

12шт.

14

700114812

FILTER

1шт.

15

700712464

COVER

screen, available as an extra only

1шт.

Выбрано товаров: 15