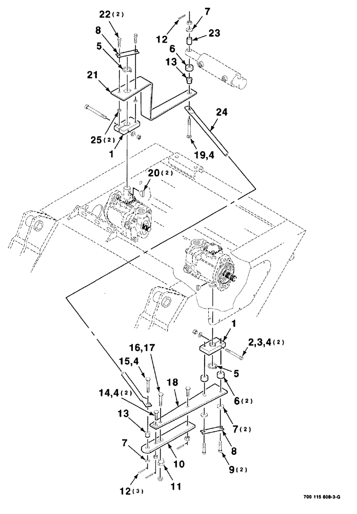
Запчасти Case IH 8840 (05-002) - TRANSMISSION CONTROL ASSEMBLY (14) - MAIN GEARBOX & DRIVE

Схема запчастей Case IH 8840 - (05-002) - TRANSMISSION CONTROL ASSEMBLY (14) - MAIN GEARBOX & DRIVE
6
7
16
13
23
9
11
7
25
4
24
13
21
1
19
17
15
4
3
18
8
6
14
10
4
12
12
1
2
22
4
7
5
5
20
8
FIT
1:1
100%

Артикул

Название

Примечание

Количество

1

700110910

ARM

steering

2шт.

2

413-648

BOLT,Hex, 3/8" - 16 x 3", Gr 5

2шт.

3

492-11038

LOCK WASHER,3/8"

2шт.

4

425-106

NUT,3/8"-16, Cl 5

6шт.

5

100-1198

SNAP RING,#98, Ext

2шт.

6

6586010

SPACER

3шт.

7

700111084

WASHER

4шт.

8

700117551

LOCKING TAB

TAB

2шт.

9

700711084

BOLT

SCREW hex flange, 3/8"-16 x 1-1/2", grade 8

2шт.

10

700115650

ARM

left

1шт.

11

700115649

CAM

1шт.

12

62034

BATTERY

PIN cotter, 3/32" x 3/4"

4шт.

13

D52276

ISOLATOR,10.16mm ID x 28.07mm OD x mm L

MOUNTING

2шт.

14

700115651

BOLT

2шт.

15

700115652

BOLT

1шт.

16

433-528

CARRIAGE BOLT,Sq Nk, 5/16" - 18 x 1 3/4", Gr 5

BOLT square neck, round head, 5/16"-18 x 1-3/4"

1шт.

17

230-4115

LOCK NUT,5/16"-18, GA

lock, hex top, 5/16"-18, grade/B

1шт.

18

700115646

ARM

left

1шт.

19

700115653

BOLT

1шт.

20

126-117

WOODRUFF KEY,#91, 1/4" x 3/4", HT

2шт.

21

700115647

ARM

right

1шт.

22

121-237

SERRATED BOLT,Hex, 3/8" - 16 x 1 1/4, Spcl

hex flange, 3/8"-16 x 1-1/4", grade 8

2шт.

23

6869242

TUBE,15.88 mm OD, 30 mm Length

SPACER

1шт.

24

700115648

ROD

control

1шт.

25

700108843

SPACER

2шт.

Выбрано товаров: 0