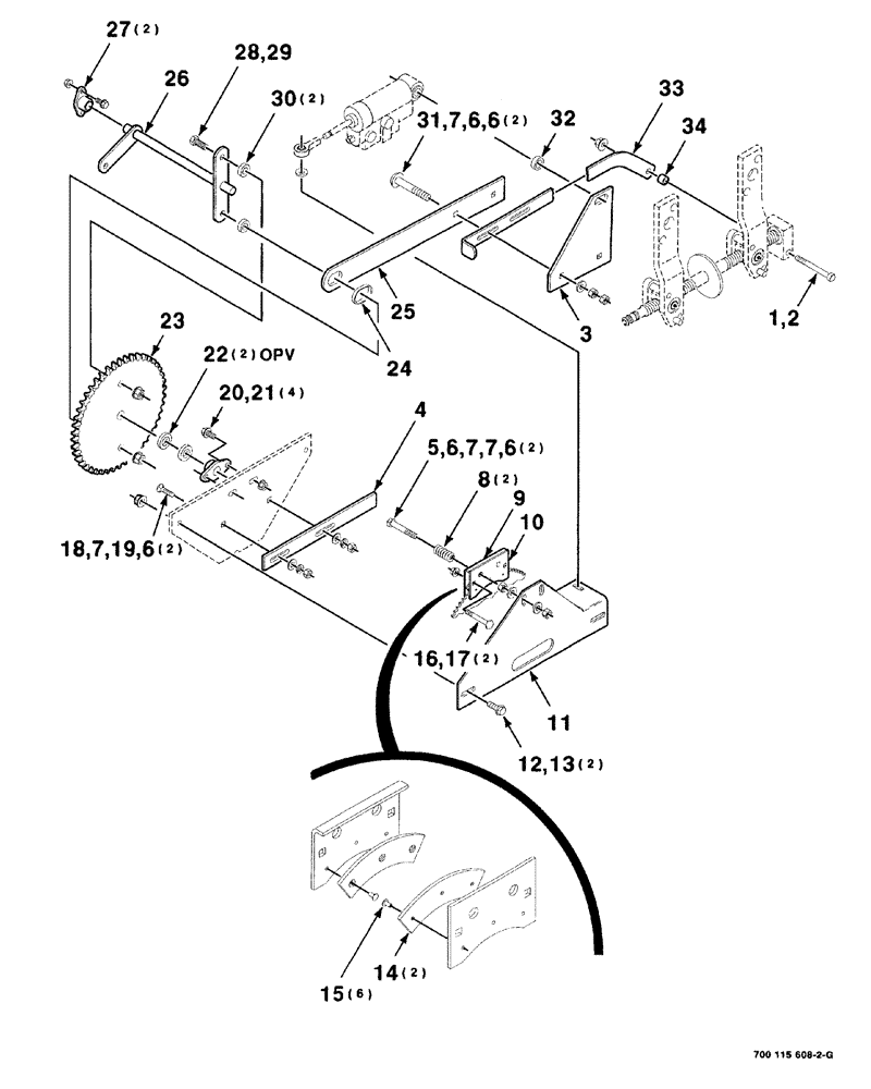
Запчасти Case IH 8840 (05-010) - TRANSMISSION CONTROL ASSEMBLY (GROUND SPEED) (14) - MAIN GEARBOX & DRIVE

Схема запчастей Case IH 8840 - (05-010) - TRANSMISSION CONTROL ASSEMBLY (GROUND SPEED) (14) - MAIN GEARBOX & DRIVE
4
6
7
6
30
10
14
6
27
22
7
15
29
21
31
17
1
6
16
33
5
23
11
25
19
20
26
7
8
34
3
28
2
32
24
18
6
13
9
12
7
FIT
1:1
100%

Артикул

Название

Примечание

Количество

1

413-864

BOLT,Hex, 1/2" - 13 x 4", Gr 5

SCREW cap, hex, 1/2"-13 x 4"

1шт.

2

230-4218

LOCK NUT,1/2"-13, GA

lock, hex center, 1/2"-13

1шт.

3

700121557

LARGE PLATE

PLATE, LARGE mounting, Servo

1шт.

4

700115627

STOP

1шт.

5

413-648

BOLT,Hex, 3/8" - 16 x 3", Gr 5

2шт.

6

425-106

NUT,3/8"-16, Cl 5

10шт.

7

496-11041

WASHER,13/32" x 13/16" x .065", HDN

plain, hardened, 3/8"

8шт.

8

7758154

SPRING

compression

2шт.

9

6553556

BRACKET

BRAKE ASSEMBLY left, Includes: Ref. 14 and 15

1шт.

10

6553572

BRAKE LINING

ASSEMBLY right, Includes: Ref. 14 and 15

1шт.

11

700121555

ANCHOR

Servo

1шт.

12

121-226

SERRATED BOLT,Hex, 3/8" - 16 x 1"

2шт.

13

232-5316

FLANGE NUT,Flg, 3/8"-16

lock, hex flange top, 3/8"-16, grade/G

2шт.

14

700711021

BRAKE LINING

brake

2шт.

Part of Left Brake Assembly, Ref. 9, P/N 6553556 and Right Brake Assembly, Ref. 10, P/N 6553572.

1шт.

15

64980

RIVET

6шт.

Part of Left Brake Assembly, Ref. 9, P/N 6553556 and Right Brake Assembly, Ref. 10, P/N 6553572.

1шт.

16

433-440

CARRIAGE BOLT,Sq Nk, 1/4" - 20 x 2 1/2", Gr 5

square neck, round head, 1/4"-20 x 2-1/2"

2шт.

17

1703354

NUT

lock, hex flange top, 1/4"-20, grade/G

2шт.

18

433-620

CARRIAGE BOLT,Sq Nk, 3/8" - 16 x 1 1/4", Gr 5

2шт.

19

492-11038

LOCK WASHER,3/8"

2шт.

20

409-7612

BOLT,3/8"-16 x 1.09" OAL

4шт.

21

231-5146

FLANGE NUT,3/8"-16

4шт.

22

195-2089

WASHER,25/32" x 1 1/2" x .083"

BUSHING machinery, wide rim, 3/4" x 18 gauge

2шт.

23

700115643

SPROCKET

1шт.

24

8052243

BUSHING,25.552 mm ID x 28.613 mm OD x 6.3 mm

composite

1шт.

25

700115628

ARM

ground speed

1шт.

26

700115633

LEVER

WA

1шт.

27

A63366

SPHERICAL BEARING,19mm ID

FLANGE mounting

2шт.

28

413-820

BOLT,Hex, 1/2" - 13 x 1-1/4", Gr 5

1шт.

29

231-5348

FLANGE NUT,Flg, 1/2"-13

lock, hex flange top, 1/2"-13, grade/G

1шт.

30

6582696

SPACER

2шт.

31

433-628

CARRIAGE BOLT,Sq Nk, 3/8" - 16 x 1 3/4", Gr 5

square neck, round head, 3/8"-16 x 1-3/4"

2шт.

32

700122212

SPACER

1шт.

33

700115638

LINK

speed

1шт.

34

6558217

SPACER

1шт.

Выбрано товаров: 0