Качественные детали и логистика
Оригинальные и аналоговые запчасти с доставкой по России, Казахстану и Беларуси
©2022 PartSell ООО "Система" ИНН 2463123282 ОГРН 1212400004838
Центральный офис: г. Красноярск, Академика Киренского, д.87, пом.4
Телефон: 8 (800) 777-65-74 Email: zakaz@partsell.ru
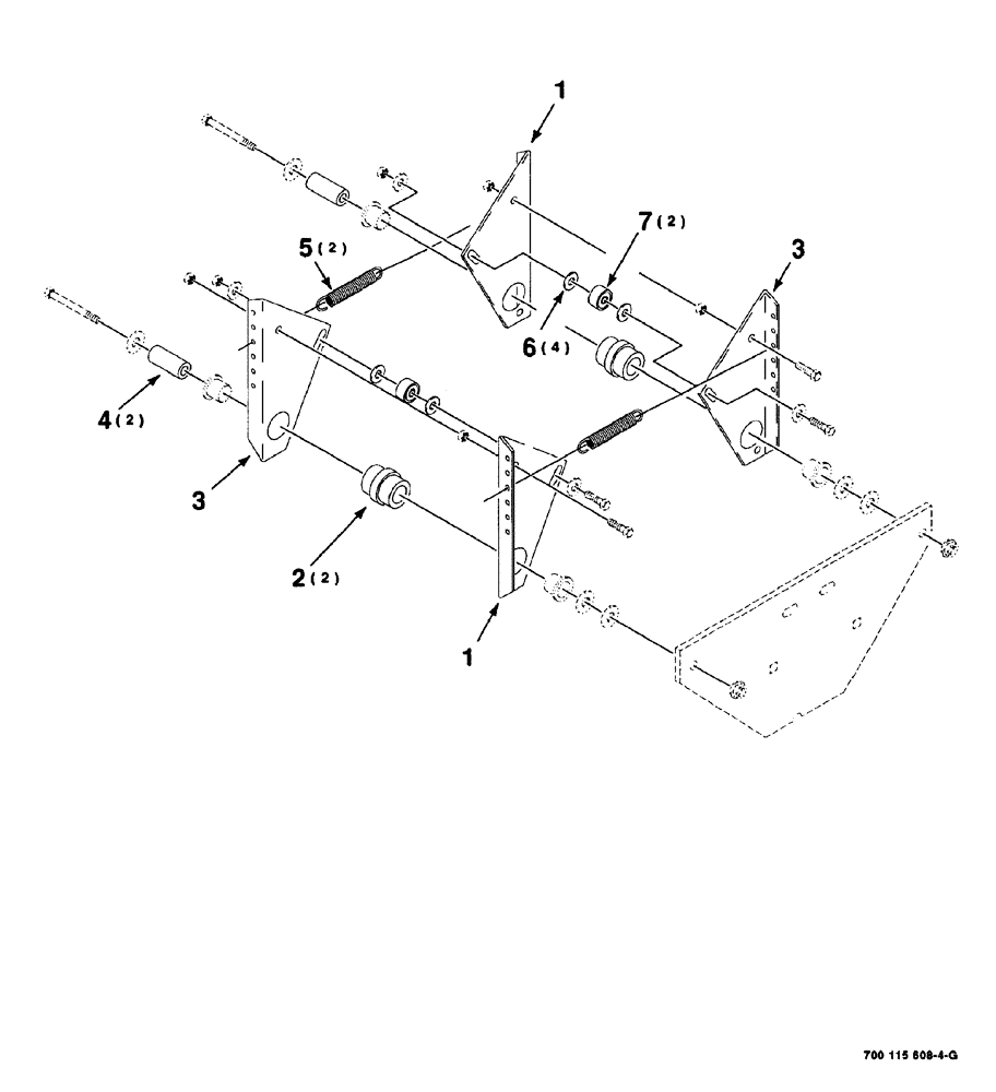
(05-022) - TRANSMISSION CONTROL ASSEMBLY (FRONT)
№
Артикул
Название
Примечание
Количество
1
700115640
ARM
pivot, right
2шт.
2
700115639
HUB
pivot
3
700115641
pivot, left
4
700108069
BUSHING
5
58941
SPRING
extension
6
496-21034
WASHER,11/32" x 11/16" x 0.89", HDN
4шт.
7
700706189
BALL BEARING,8mm ID x 22mm OD x 7mm W
Выбрано товаров: 0