Запчасти Case IH 8840 (05-014) - BRAKE CABLE ASSEMBLY (33) - BRAKES & CONTROLS

Схема запчастей Case IH 8840 - (05-014) - BRAKE CABLE ASSEMBLY (33) - BRAKES & CONTROLS
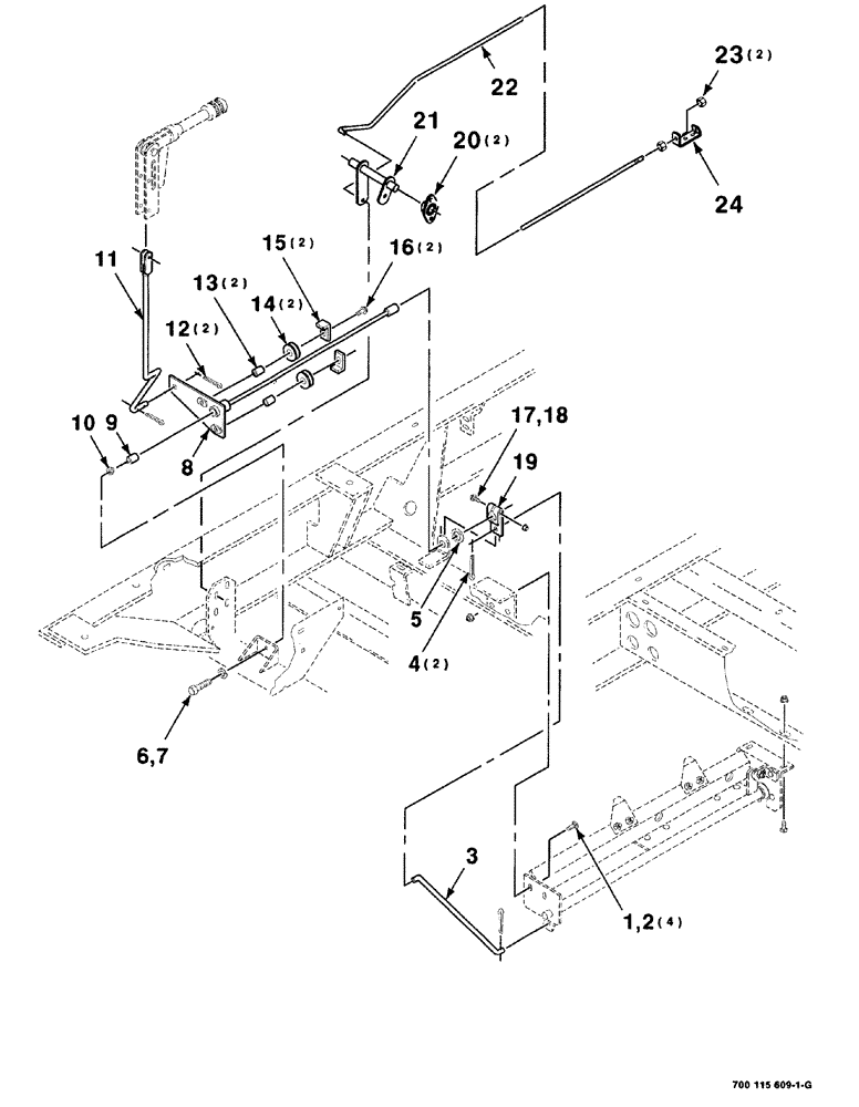
8
7
14
10
22
15
23
2
11
21
3
6
13
24
19
12
1
18
5
17
16
20
4
9
FIT
1:1
100%

Артикул

Название

Примечание

Количество

1

433-612

CARRIAGE BOLT,Sq Nk, 3/8" - 16 x 3/4", Gr 5

4шт.

2

231-5146

FLANGE NUT,3/8"-16

4шт.

3

700115672

ROD

1шт.

4

432-812

COTTER PIN,3/4" OAL x 1/8" W

2шт.

5

852988

NYLON BEARING

nylon

1шт.

6

413-616

BOLT,Hex, 3/8" - 16 x 1", Gr 5

1шт.

7

492-11038

LOCK WASHER,3/8"

1шт.

8

700115654

ROD

WA

1шт.

9

700115682

BUSHING

1шт.

10

72323

BUSHING,19.07mm ID x 28.57mm OD x 19.05mm L

BEARING nylon, with flange

1шт.

11

700115676

ROD

ROD, WA brake

1шт.

12

432-816

COTTER PIN,1/8" x 1"

2шт.

13

6605752

SPACER

2шт.

14

6605737

ROLLER

2шт.

15

6196885

GUIDE

cable

2шт.

16

121-226

SERRATED BOLT,Hex, 3/8" - 16 x 1"

2шт.

17

163-56

SCREW,Hex Wshr Hd, 5/16" - 18 x 1 1/2", Gr 5

machine, hex washer head, 5/16"-18 x 1-1/2"

1шт.

18

231-5145

SERRATED NUT,Flg, USR, 5/16"-18

1шт.

19

700115684

STRAP

1шт.

20

A63366

SPHERICAL BEARING,19mm ID

FLANGE mounting

2шт.

21

700115678

LEVER

WA

1шт.

22

700115673

LINK

rod

1шт.

23

425-116

NUT,3/8" - 24, Gr 5

Hex

2шт.

24

700115674

HANGER

1шт.

Выбрано товаров: 24