Запчасти Case IH 8840 (09-028) - ACTUATOR (HYDRAULIC) ASSEMBLY (35) - HYDRAULIC SYSTEMS

Схема запчастей Case IH 8840 - (09-028) - ACTUATOR (HYDRAULIC) ASSEMBLY (35) - HYDRAULIC SYSTEMS
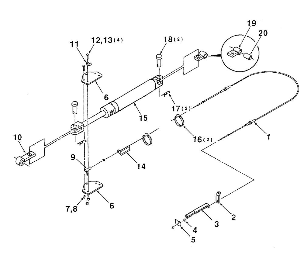
19
13
17
10
12
18
3
1
7
20
11
6
16
6
15
9
5
8
2
4
14
FIT
1:1
100%

Артикул

Название

Примечание

Количество

1

700707684

FLEXIBLE CONTROL

control

1шт.

2

700114933

STOP

mounting

1шт.

3

700114930

LEVEL GAUGE

BAR indicator

1шт.

4

225-14210

NUT,#10-32

1шт.

5

700114931

DIPSTICK

INDICATOR

1шт.

6

700114932

STOP

stop

2шт.

7

425-114

NUT,1/4"-28, G5

1шт.

8

492-11025

LOCK WASHER,1/4"

1шт.

9

A76747

BALL JOINT,#10 -32 x 7/8" L

ball

1шт.

10

700114922

ARM

front

1шт.

11

515-2363

CLAMP,M6.3, Insul, 3/8" Bolt

wiring

1шт.

12

413-532

BOLT,Hex, 5/16" - 18 x 2", Gr 5

4шт.

13

230-4215

NUT,5/16"-18, GA

Center

4шт.

14

700114935

BRACKET

cable

1шт.

15

700712017

CYLINDER

hydraulic, see Figure 09-030

1шт.

P/N 700704570 interchanges with P/N 700712017, but existing stock of P/N 700712017 should be used prior to ordering P/N 700704570.

1шт.

700704570

HYDRAULIC CYLINDER

hydraulic, see Figure 09-030

1шт.

P/N 700704570 interchanges with P/N 700712017, but P/N 700704570 must be stocked for it's respective effectivity.

1шт.

16

214-1444

HOSE CLAMP,58.6mm - 82.5mm

2шт.

17

062455

PIN, SPLIT (COTTER)

PIN, COTTER hair, .178"

2шт.

18

427-16350

CLEVIS PIN,25.4mm OD x 88.9mm L

clevis, 1" x 3-1/2"

2шт.

19

700117977

MOUNTING PARTS

lug

1шт.

20

700114925

BUSHING

1шт.

Выбрано товаров: 23