Запчасти Case IH 8850 (08-64) - HYDRAULIC ACTUATOR ASSEMBLY, HEADER TILT (08) - HYDRAULICS

Схема запчастей Case IH 8850 - (08-64) - HYDRAULIC ACTUATOR ASSEMBLY, HEADER TILT (08) - HYDRAULICS
9
17
6
8
14
1
5
2
18
3
13
7
15
10
4
11
20
16
12
19
FIT
1:1
100%

Артикул

Название

Примечание

Количество

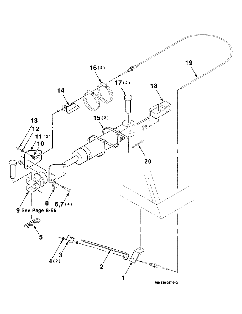
1

700114933

STOP

ANGLE - mounting

1шт.

2

700130073

ANGLE

- indicator

1шт.

3

700114931

DIPSTICK

INDICATOR

1шт.

4

225-14210

NUT,#10-32

2шт.

5

062455

PIN, SPLIT (COTTER)

.178 HAIRPIN COTTER

1шт.

6

413-532

BOLT,Hex, 5/16" - 18 x 2", Gr 5

4шт.

7

232-5315

FLANGE NUT,Flg, 5/16"-18

5/16-18 HFTLN GR/G

4шт.

8

515-2363

CLAMP,M6.3, Insul, 3/8" Bolt

- line

1шт.

9

700712017

CYLINDER

- hydraulic

1шт.

10

A76747

BALL JOINT,#10 -32 x 7/8" L

ASSEMBLY - ball

1шт.

11

700130072

PLATE

- stop

2шт.

12

492-11025

LOCK WASHER,1/4"

WASHER, LOCK, 1/4"

1шт.

13

425-114

NUT,1/4"-28, G5

1шт.

14

700114935

BRACKET

MOUNTING - cable

1шт.

15

7021728

STRAP

TIE - cable

2шт.

16

214-1444

HOSE CLAMP,58.6mm - 82.5mm

CLAMP, HOSE, #44, 2.31/3.25 Type F Worm

2шт.

17

427-16350

CLEVIS PIN,25.4mm OD x 88.9mm L

1 X 3-1/2 CLEVIS PIN

2шт.

18

700117977

MOUNTING PARTS

MOUNTING

1шт.

Ref# 18 - Bushing/spacer that is used with this mount is P/N# 700114925. CAM (db) 4-23-99

1шт.

19

700713391

CABLE

1шт.

20

432-1228

COTTER PIN,3/16" x 1 3/4"

3/16" x 1 3/4"

1шт.

Выбрано товаров: 21