Запчасти Case IH 8850 (07-18) - CONTROLS ASSEMBLY, OPERATORS (09) - CHASSIS

Схема запчастей Case IH 8850 - (07-18) - CONTROLS ASSEMBLY, OPERATORS (09) - CHASSIS
25
28
1
17
8
18
24
3
11
8
18
14
7
4
23
26
17
2
12
6
5
22
31
21
10
20
16
15
22
27
19
13
29
8
13
8
9
30
FIT
1:1
100%

Артикул

Название

Примечание

Количество

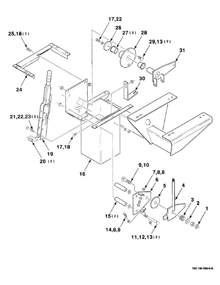
1

425-148

JAM NUT,Jam, 1/2"-13, G5

1шт.

2

495-21056

WASHER,1/2"

1/2 HARDENED PLAIN WASHER

1шт.

3

58024

SPRING

- compression

1шт.

4

700111019

LEVER

WA

1шт.

5

700711026

DISC

- friction

1шт.

6

700114951

SUPPORT

MOUNTING WA - lever

1шт.

7

413-516

BOLT,Hex, 5/16" - 18 x 1", Gr 5

1шт.

8

425-145

JAM NUT,Jam, 5/16"-18, G5

4шт.

9

433-836

CARRIAGE BOLT,Sq Nk, 1/2" - 13 x 2 1/4", Gr 5

1/2-13 X 2-1/4 RHSNB

1шт.

10

425-108

NUT,1/2" - 13, Gr 5

NUT, , Hex 1/2"-13, G5

1шт.

11

433-664

CARRIAGE BOLT,Sq Nk, 3/8" - 16 x 4", Gr 5

3/8-16 X 4 RHSNB

2шт.

12

496-11041

WASHER,13/32" x 13/16" x .065", HDN

3/8 HARDENED PLAIN WASHER

2шт.

13

231-5146

FLANGE NUT,3/8"-16

4шт.

14

700705617

BOLT,Hex, 5/16" - 18 x 1 1/4", Gr 5

5/16-18 X 1-1/4 FTC

1шт.

15

700116062

SPACER

2шт.

16

700130150

MOUNTING PARTS

MOUNTING WA - controls

1шт.

17

413-512

BOLT,Hex, 5/16" - 18 x 3/4", Gr 5

2шт.

18

231-5145

SERRATED NUT,Flg, USR, 5/16"-18

NUT, Flg, USR, 5/16"-18

3шт.

19

7020548

BRAKE LEVER

LEVER ASSEMBLY - parking brake

1шт.

20

6606966

SPACER

2шт.

21

413-528

BOLT,Hex, 5/16" - 18 x 1-3/4", Gr 5

2шт.

22

492-11031

LOCK WASHER,5/16"

WASHER, LOCK, 5/16"

3шт.

23

425-105

NUT,5/16"-18, G5

2шт.

24

700130318

FRAME

WA

1шт.

25

121-115

SERRATED BOLT,Hex, 5/16" - 18 x 3/4"

2шт.

26

6617344

WASHER

WASHER

1шт.

27

700705560

BUSHING

- nylined

2шт.

28

700111023

MOUNTING PLATE

MOUNTING WA

1шт.

29

434-616

CARRIAGE BOLT,Sht Sq Nk, 3/8" - 16 x 1", Gr 5

3/8-16 X 1 RHSNB

2шт.

30

700115752

SUPPORT

- throttle

1шт.

31

700115468

PIVOT

WA

1шт.

Выбрано товаров: 0