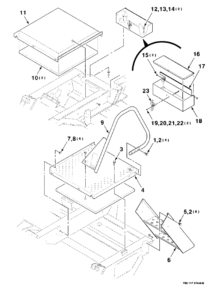
Запчасти Case IH 8850 (07-24) - PLATFORM STEPS, RAILS AND TOOL BOX ASSEMBLY (09) - CHASSIS

Схема запчастей Case IH 8850 - (07-24) - PLATFORM STEPS, RAILS AND TOOL BOX ASSEMBLY (09) - CHASSIS
5
11
23
13
21
18
22
6
14
10
1
9
20
12
4
15
2
19
16
3
17
7
2
8
FIT
1:1
100%

Артикул

Название

Примечание

Количество

1

121-226

SERRATED BOLT,Hex, 3/8" - 16 x 1"

4шт.

2

231-5146

FLANGE NUT,3/8"-16

10шт.

3

121-237

SERRATED BOLT,Hex, 3/8" - 16 x 1 1/4, Spcl

3/8-16 X 1-1/4 HFS GR8

1шт.

4

700115750

STEP

- left

1шт.

5

409-7612

BOLT,3/8"-16 x 1.09" OAL

3/8-16 X 3/4 HWHMS

6шт.

6

700115745

STEP

WA

1шт.

7

121-115

SERRATED BOLT,Hex, 5/16" - 18 x 3/4"

6шт.

8

231-5145

SERRATED NUT,Flg, USR, 5/16"-18

NUT, Flg, USR, 5/16"-18

6шт.

9

700115439

HANDRAIL

RAIL WA

1шт.

10

700707209

PAD

- foam

2шт.

11

700115749

STEP

- right

1шт.

12

111-360

CARRIAGE BOLT,Short NK, 3/8"-16 x 3/4", G5

BOLT, CARRIAGE, Short NK, 3/8"-16 x 3/4", G5

2шт.

13

496-11041

WASHER,13/32" x 13/16" x .065", HDN

3/8 HARDENED PLAIN WASHER

2шт.

14

425-106

NUT,3/8"-16, Cl 5

2шт.

15

700707858

SNAP RING

RING - retaining

2шт.

16

700115913

LID

PANEL - lid

1шт.

17

700115914

PIN

- hinge

1шт.

18

700115910

TOOL BOX

PANEL WA - tool box

1шт.

19

463-3128

SCREW,Hex Wash Hd, #12-24 x 1/2"

#12-24 X 1/2 HWHMS

2шт.

20

27616R1

WASHER,.281" x 5/8" x .075", HDN

#12 PLAIN WASHER

2шт.

21

492-11012

LOCK WASHER,#12

WASHER, LOCK, #12

2шт.

22

225-14112

NUT,#12-24

#12-24 H GR2

2шт.

23

700706849

LATCH

1шт.

Выбрано товаров: 0