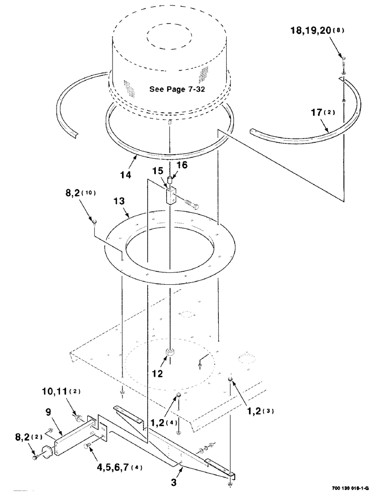
Запчасти Case IH 8850 (07-30) - ROTARY SCREEN HOOD ASSEMBLY (09) - CHASSIS

Схема запчастей Case IH 8850 - (07-30) - ROTARY SCREEN HOOD ASSEMBLY (09) - CHASSIS
16
8
12
1
18
2
8
4
13
19
9
3
14
2
6
5
20
2
1
10
11
7
15
2
17
FIT
1:1
100%

Артикул

Название

Примечание

Количество

1

256873

BOLT,Hex Serr, 5/16" - 18 x 1/2", 5SPL, Full Thd

7шт.

2

231-5145

SERRATED NUT,Flg, USR, 5/16"-18

NUT, Flg, USR, 5/16"-18

19шт.

3

700114856

ANGLE

- mounting

1шт.

4

434-616

CARRIAGE BOLT,Sht Sq Nk, 3/8" - 16 x 1", Gr 5

3/8-16 X 1 RHSNB

4шт.

5

496-11041

WASHER,13/32" x 13/16" x .065", HDN

3/8 HARDENED PLAIN WASHER

4шт.

6

492-11038

LOCK WASHER,3/8"

WASHER, LOCK, 3/8"

4шт.

7

425-106

NUT,3/8"-16, Cl 5

4шт.

8

121-115

SERRATED BOLT,Hex, 5/16" - 18 x 3/4"

12шт.

9

700114864

SUPPORT

MOUNTING WA

1шт.

10

413-836

BOLT,Hex, 1/2" - 13 x 2-1/4", Gr 5

2шт.

11

231-5348

FLANGE NUT,Flg, 1/2"-13

1/2-13 HFTLN GR/G

2шт.

12

425-1012

NUT,3/4"-10, G5

3/4-10 H

1шт.

13

700114826

RING

WA

1шт.

14

700114909

SEAL

1шт.

15

700114870

BLOCK

- mounting

1шт.

16

700114925

BUSHING

SPACER

1шт.

17

700114817

RING

- half, seal

2шт.

18

413-424

BOLT,Hex, 1/4" - 20 x 1-1/2", Gr 5

8шт.

19

496-11028

WASHER,9/32" x 5/8" x .065, HDN

1/4 HARDENED PLAIN WASHER

8шт.

20

1703354

NUT

1/4-20 HFTLN GR/G

8шт.

Выбрано товаров: 20