Запчасти Case IH 8850 (09-06) - DECALS AND LOCATION DIAGRAM (09) - CHASSIS

Схема запчастей Case IH 8850 - (09-06) - DECALS AND LOCATION DIAGRAM (09) - CHASSIS
11
10
3
6
2
4
7
9
8
5
1
FIT
1:1
100%

Артикул

Название

Примечание

Количество

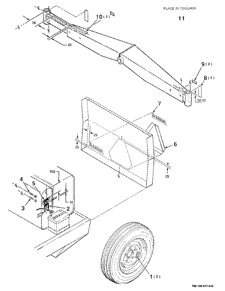
1

7079387

DECAL

- torque

2шт.

2

8178212

DECAL

- danger, acid

1шт.

3

7079999

DECAL

- add

1шт.

4

7079981

DECAL

- full

1шт.

5

779348

DECAL

- negative ground

1шт.

6

321-4311

DECAL

- slow vehicle emblem

1шт.

7

192848A2

DECAL

- Case IH

1шт.

8

700714346

REFLECTOR

- red

2шт.

9

700709304

DECAL

- torque

2шт.

10

6849178

WALL

TREAD - safety

2шт.

11

700710275

PLUG

- plastic

1шт.

Выбрано товаров: 11