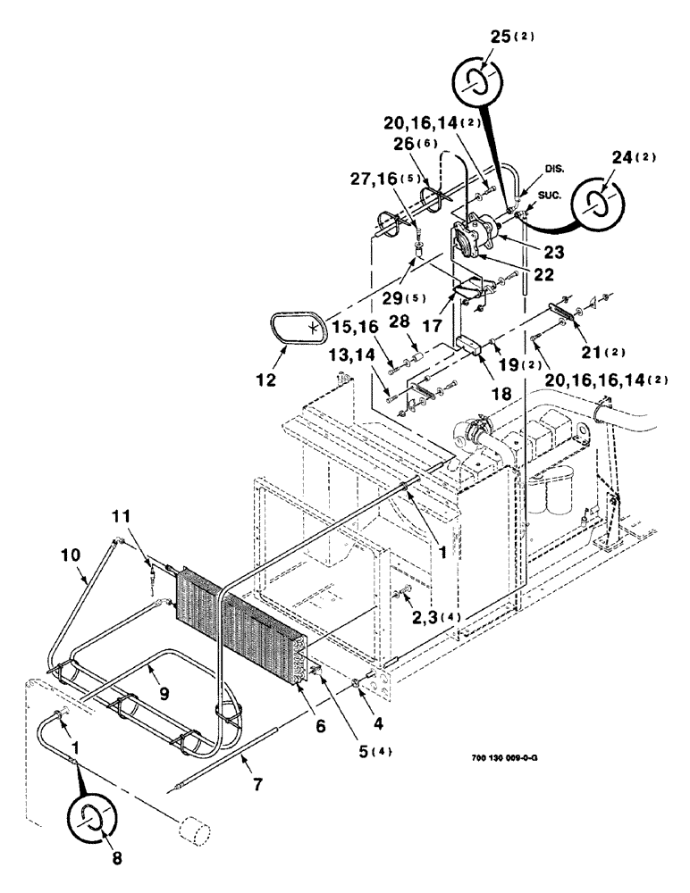
Запчасти Case IH 8850 (02-16) - CONDENSER- COMPRESSOR ASSEMBLY, SERIAL NUMBER CFH0099001 THRU CFH0099164 (02) - ENGINE

Схема запчастей Case IH 8850 - (02-16) - CONDENSER- COMPRESSOR ASSEMBLY, SERIAL NUMBER CFH0099001 THRU CFH0099164 (02) - ENGINE
10
16
22
6
14
4
16
14
20
13
11
21
16
8
5
17
16
15
20
26
29
25
27
1
16
14
18
28
9
23
24
2
7
3
19
12
1
FIT
1:1
100%

Артикул

Название

Примечание

Количество

1

248-2152

GROMMET,1" ID x 1 3/8" Groove Dia

2шт.

2

121-3

SERRATED BOLT,Hex, 1/4" - 20 x 1/2", Gr 5

4шт.

3

496-11028

WASHER,9/32" x 5/8" x .065, HDN

1/4 HARDENED PLAIN WASHER

4шт.

4

248-21114

GROMMET,1 1/2" ID x 1 3/4" Groove Dia

1шт.

5

74807

NUT

1/4-20 SPEED NUT

4шт.

6

700713364

CONDENSER

1шт.

7

700713318

HOSE

ASSEMBLY (Includes item 24)

1шт.

8

700712717

O-RING

1шт.

9

700712708

HOSE

ASSEMBLY (Includes item 8)

1шт.

10

700713320

HOSE

ASSEMBLY (Includes item 25)

1шт.

11

700713314

SWITCH

- high pressure

1шт.

12

700709214

V-BELT,1117.60 mm L

1шт.

13

814-10095

BOLT,Hex, M10 x 1.5 x 95mm, Cl 8.8

M10 X 1.5 X 95 C

1шт.

14

832-41310

NUT,M10 x 1.5, Cl 10

NUT, LOCK, M10 x 1.5, Cl 10

5шт.

15

700715074

BOLT

M10 X 1.5 X 80 C C10.9

1шт.

17

700119647

MOUNTING PARTS

SUPPORT WA - compressor

1шт.

18

700119650

SUPPORT

- compressor

1шт.

19

6606594

BUSHING

SPACER

2шт.

20

614-10035

BOLT,Hex, M10 x 1.5 x 35mm, Cl 8.8, Full Thd

4шт.

21

700119652

STRAP

- adjust

2шт.

22

135324A1

CLUTCH

- compressor kit (with access)

1шт.

23

1999755C2

COMPRESSOR

- A/C

1шт.

23

86993462R

REMAN-COMPRESSOR

8850 SERIAL NUMBER CFH0099001 THRU CFH0099164; Reman For New P/N 1999755C2

1шт.

23

86993462C

CORE-COMPRESSOR

Return Part Number

1шт.

23

48017123R

REMAN-A/C COMP KIT

Reman A/C Compressor Kit

1шт.

23

48017123C

REMAN-A/C COMP KIT

Return Part Number

1шт.

23

1999755C3R

REMAN-A/C COMPRESSOR

Inc.- 8 Mounting Holes, 2 Groove Pulley, For Use w/HFC134A Refrigerant

1шт.

23

1999755C3C

CORE-COMPRESSOR

Return Part Number

1шт.

24

31-1809

O-RING

2шт.

25

700712718

O-RING

2шт.

26

L18337

CABLE TIE,9.95"-12.1" lg

STRAP - tie, 15 inch, nylon

6шт.

27

700715073

BOLT

M10 X 1.5 X 40 C C10.9

5шт.

28

6176002

SPACER

1шт.

29

6856512

SPACER

5шт.

16

895-11010

WASHER,11mm ID x 20mm OD x 2mm Thk

12шт.

Выбрано товаров: 0