Запчасти Case IH 8850 (10-52) - CYLINDER BLOCK, SERIAL NUMBER CFH0099001 THRU CFH0099164 (02) - ENGINE

Схема запчастей Case IH 8850 - (10-52) - CYLINDER BLOCK, SERIAL NUMBER CFH0099001 THRU CFH0099164 (02) - ENGINE
36
7
25
27
11
34
12
32
10
29
21
18
37
9
3
6
26
39
1
19
20
33
31
14
22
5
7
30
6
17
7
24
8
16
38
13
6
15
35
2
4
31
28
40
23
FIT
1:1
100%

Артикул

Название

Примечание

Количество

1989195C1

ENGINE ASSEMBLY - complete, 6T-590, includes all parts except starter, alternator, fan, fan belt, fan belt pulley, air cleaner, muffler and exhaust pipe, for service order basic engine below

1шт.

1989096C2R

ENGINE, EXCHANGE

ENGINE ASSEMBLY - basic, remanufactured, For North America only, component parts shown on this page do not apply to the remanufactured assembly

1шт.

1989096C2C

CORE-ENGINE

RETURN NUMBER - use this part number to return core for credit when using a remanufactured assembly

1шт.

1989096C2

BASIC ENGINE

ASSEMBLY, includes all parts except starter, alternator, fan, fan belt, air cleaner, muffler, exhaust manifold, flywheel and housing, oil fill and dipstick, fuel injection pump, injectors and lines, front crank pulley, turbocharger and belt tensioner

1шт.

AR77762

ENGINE

BLOCK ASSEMBLY - short, engine, remanufactured, North America only, component parts shown on this page do not apply to the remanufactured assembly, no longer available, order JR920392 remanufactured block assembly and J802641 hardware kit

1шт.

AC77762

CORE-ENGINE

RETURN NUMBER - use this part number to return block core for credit when using a remanufactured assembly

1шт.

J920392

SKELETON ENGINE

BLOCK ASSEMBLY - short, engine, new, includes stripped block, pistons, connecting rods and bearings, crankshaft and bearings

1шт.

Order J802641 hardware kit when ordering J920392 block assembly.

1шт.

JR933183

REMAN-SHORT ENGINE

Remanufactured, For N.A. Only

1шт.

JC933183

CORE-SHORT ENGINE

Return Number, For N.A. Only

1шт.

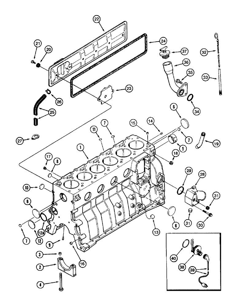
1

J916255

CYLINDER BLOCK

BLOCK ASSEMBLY - stripped, engine, no longer available, order J920392 short block assembly or 1989096C2 basic engine

1шт.

Order J802641 hardware kit when ordering J920392 block assembly.

1шт.

2

J900967

BEARING CAP

CAP - main bearing

7шт.

3

J900068

BEARING WASHER

RING - dowel, 18 mm OD

14шт.

4

J904217

BOLT,Hex, M14 x 2 x 119mm, Cl 12.9

- main bearing cap, special

14шт.

5

REF

INSTRUCTION

BUSHING - camshaft, front, see page 2-37, item 2

1шт.

6

A77782

PLUG

- expansion, 58 mm OD

6шт.

7

J900956

PLUG

- expansion, 18 mm OD

3шт.

8

41-1616

PLUG,Cup, 1", Stainless

4шт.

J802641

PACKAGE, REPAIR

KIT - block hardware, replaces J920399 kit

1шт.

Order J802641 hardware kit when ordering J920392 block assembly.

1шт.

9

J930139

NOZZLE CAP

NOZZLE - piston cooling, replaces J919002 nozzle

6шт.

10

J900958

PLUG

- expansion, 32 mm OD

1шт.

11

J900955

PLUG

- expansion, 10 mm OD

2шт.

12

172599

PLUG,Exp, 2 3/8"

- expansion, Welch, 60 mm OD

1шт.

12a

J926047

O-RING,0.07" Thk x 2.239" ID

- sealing, 57 mm ID

1шт.

13

J920706

PLUG

- expansion, 22 mm OD, not used in this application

1шт.

14

J900257

PIN,10.01mm OD x 16mm L

- dowel, 16 mm long, locating

2шт.

15

J902343

DOWEL

RING - dowel, 16 mm OD

2шт.

16

J900068

BEARING WASHER

RING - dowel, 18 mm OD

2шт.

17

J906619

PLUG,1/8" - 27

- hex, 1/8 inch PT

2шт.

18

A77429

PLUG

- hex socket, 1/2 inch PT

1шт.

19

J903744

PIPE FITTING,22.42 mm ID x 28 mm OD x 90.2, 64 mm L

TUBE - turbocharger oil drain

1шт.

20

J900267

SEAL

- cover bolt

4шт.

21

845-8020

BOLT,Hvy Hex, M8 x 20mm, Cl 8.8

- heavy hex flange, 8 - 1.25 x 20 mm

4шт.

22

J927913

COVER

- tappet, replaces J911822 cover

1шт.

23

J907586

BAFFLE

- tappet cover

1шт.

24

J928832

GASKET

- tappet cover, replaces J907617 gasket

1шт.

25

J918614

TUBE,435.00 mm

- 635 mm (25 inch) long

1шт.

26

J904230

CLAMP,25.4mm

- spring, hose

1шт.

27

J909670

CLIP

- retaining

1шт.

28

J903102

CONNECTION

- water inlet

1шт.

29

J906697

SEAL,Square, 5.16mm Thk x 50.17mm ID

O-RING - sealing, 50 mm ID

1шт.

30

854-10075

BOLT,Hvy Hex, M10 x 75mm, Cl 10.9

- heavy hex flange, 10 - 1.5 x 75 mm, class 10.9

3шт.

31

A77429

PLUG

- hex socket, 1/2 inch PT

2шт.

32

J905786

DIPSTICK

- engine oil

1шт.

33

J905425

TUBE,9.52 mm OD x 93 mm L

- dipstick, oil

1шт.

34

J906696

SEAL,41mm ID x 43mm OD x 2.5mm H

O-RING - 1-1/2 inch (38 mm) ID

1шт.

35

854-12025

BOLT,Hvy Hex, M12 x 25mm, Cl 10.9

- heavy hex flange, 12 - 1.75 x 25 mm, class 10.9

2шт.

36

J905440

TUBE

- oil fill

1шт.

37

A77424

FILLER CAP

CAP - oil fill tube

1шт.

196803A1

KIT

- engine block heater, replaces A77634 kit

1шт.

38

NSS

NOT SOLD SEPARAT

ELEMENT - engine block heater, 120 volt, 750 watt ENGINE BLOCK HEATER

1шт.

39

196466A1

ELECTRIC CABLE

CABLE - engine block heater, replaces J905113 cable ENGINE BLOCK HEATER

1шт.

40

J910517

O-RING

- heater sealing ENGINE BLOCK HEATER

1шт.

Выбрано товаров: 55