Запчасти Case IH 8850 (05-06) - TRANSMISSION CONTROL ASSEMBLY (06) - POWER TRAIN

Схема запчастей Case IH 8850 - (05-06) - TRANSMISSION CONTROL ASSEMBLY (06) - POWER TRAIN
16
5
14
10
15
13
3
4
8
23
4
4
19
24
7
22
6
2
21
12
1
6
25
4
20
11
5
18
9
7
12
17
1
7
13
8
FIT
1:1
100%

Артикул

Название

Примечание

Количество

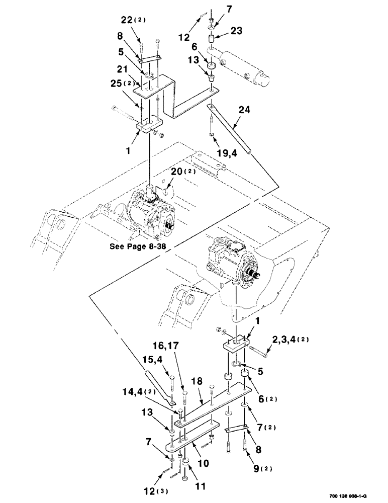
1

700110910

ARM

- steering

2шт.

2

413-648

BOLT,Hex, 3/8" - 16 x 3", Gr 5

2шт.

3

492-11038

LOCK WASHER,3/8"

WASHER, LOCK, 3/8"

2шт.

4

425-106

NUT,3/8"-16, Cl 5

6шт.

5

100-1198

SNAP RING,#98, Ext

Ring, Snap, #98, Ext

2шт.

6

6586010

SPACER

3шт.

7

700111084

WASHER

4шт.

8

700117551

LOCKING TAB

TAB - locking

2шт.

9

700711084

BOLT

3/8-16 X 1-1/2 HFS GR8

2шт.

10

700115650

ARM

- left

1шт.

11

700115649

CAM

1шт.

12

432-612

COTTER PIN,3/32" x 3/4"

PIN , SPLIT (COTTER), 3/32" x 3/4"

4шт.

13

D52276

ISOLATOR,10.16mm ID x 28.07mm OD x mm L

MOUNTING

2шт.

14

700115651

BOLT

- special

2шт.

15

700115652

BOLT

- special

1шт.

16

111-274

CARRIAGE BOLT,Short NK, 5/16"-18 x 1 3/4", G5

5/16-18 X 1-3/4 RHSNB

1шт.

17

230-4115

LOCK NUT,5/16"-18, GA

5/16-18 HTLN GR/B

1шт.

18

700115646

ARM

- left

1шт.

19

700115653

BOLT

- special

1шт.

20

126-117

WOODRUFF KEY,#91, 1/4" x 3/4", HT

2шт.

21

700115647

ARM

- right

1шт.

22

121-237

SERRATED BOLT,Hex, 3/8" - 16 x 1 1/4, Spcl

3/8-16 X 1-1/4 HFS GR8

2шт.

23

6869242

TUBE,15.88 mm OD, 30 mm Length

SPACER

1шт.

24

700115648

ROD

- control

1шт.

25

700108843

SPACER

2шт.

Выбрано товаров: 25