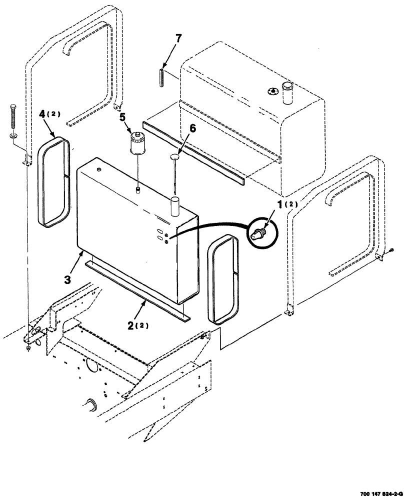
Запчасти Case IH 8860 (08-64) - OIL RESERVOIR AND MOUNTING ASSEMBLY (35) - HYDRAULIC SYSTEMS

Схема запчастей Case IH 8860 - (08-64) - OIL RESERVOIR AND MOUNTING ASSEMBLY (35) - HYDRAULIC SYSTEMS
2
3
4
1
5
6
7
FIT
1:1
100%

Артикул

Название

Примечание

Количество

1

8799439

GAUGE

sight

2шт.

Part of Oil Reservoir Ref. 3 P/N 700716759

1шт.

2

700715472

STRAP

rubber

2шт.

3

700716759

RESERVOIR

oil, Includes: Ref. 1 and 6

1шт.

4

700715470

STRAP

rubber

2шт.

5

7825516

FILTER

1шт.

6

700715712

CAP

with dipstick

1шт.

Part of Oil Reservoir Ref. 3 P/N 700716759

1шт.

7

700105604

ADHESIVE STRIP

TRIM

1шт.

Выбрано товаров: 9