Запчасти Case IH 8860 (04-34) - VALVE WIRING HARNESS ASSEMBLY (2 SPEED GRAIN) (55) - ELECTRICAL SYSTEMS

Схема запчастей Case IH 8860 - (04-34) - VALVE WIRING HARNESS ASSEMBLY (2 SPEED GRAIN) (55) - ELECTRICAL SYSTEMS
2
3
1
FIT
1:1
100%

Артикул

Название

Примечание

Количество

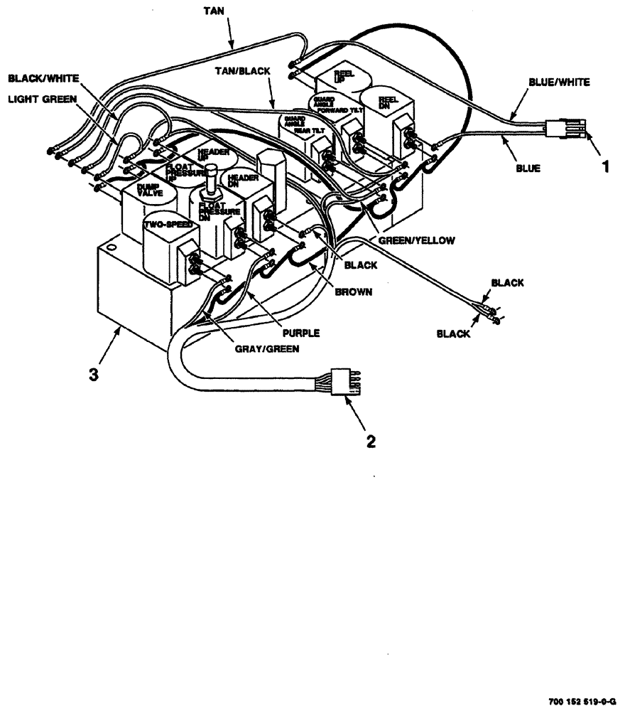
1

700716509

HARNESS

wire, reel lift

1шт.

2

700715511

HARNESS

valve

1шт.

3

700719512

VALVE, CONTROL

delta

1шт.

Выбрано товаров: 3