Запчасти Case IH 8860HP (07-08) - TOOL BOX ASSEMBLY (90) - PLATFORM, CAB, BODYWORK AND DECALS

Схема запчастей Case IH 8860HP - (07-08) - TOOL BOX ASSEMBLY (90) - PLATFORM, CAB, BODYWORK AND DECALS
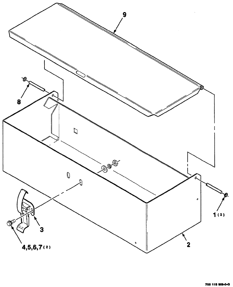
9
1
4
7
6
8
3
2
5
FIT
1:1
100%

Артикул

Название

Примечание

Количество

1

700707858

SNAP RING

2шт.

2

700115910

TOOL BOX

WA

1шт.

3

700706849

LATCH

1шт.

4

463-3128

SCREW,Hex Wash Hd, #12-24 x 1/2"

machine, hex washer head, #12-24 x 1/2

2шт.

5

27616R1

WASHER,.281" x 5/8" x .075", HDN

plain, #12

2шт.

6

492-11012

LOCK WASHER,#12

2шт.

7

225-14112

NUT,#12-24

hex, , GR2 #12-24

2шт.

8

700115914

PIN

hinge

1шт.

9

700115913

LID

tool box

1шт.

Выбрано товаров: 9