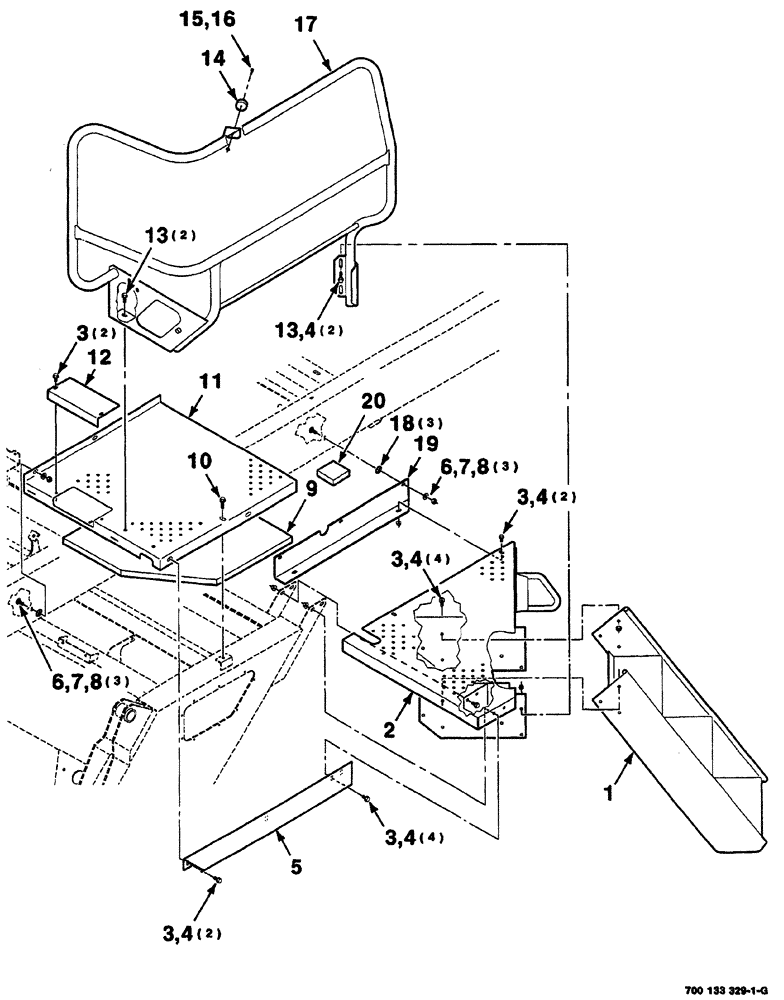
Запчасти Case IH 8860HP (07-10) - PLATFORM, HANDRAIL AND STEP ASSEMBLIES (LEFT) (90) - PLATFORM, CAB, BODYWORK AND DECALS

Схема запчастей Case IH 8860HP - (07-10) - PLATFORM, HANDRAIL AND STEP ASSEMBLIES (LEFT) (90) - PLATFORM, CAB, BODYWORK AND DECALS
2
4
3
3
8
3
4
6
4
13
11
3
3
6
1
9
14
19
16
5
4
10
7
18
15
17
4
8
13
20
12
7
FIT
1:1
100%

Артикул

Название

Примечание

Количество

1

700134291

STEP

WA

1шт.

2

700149588

STEP

ASSY., left, Includes: decal

1шт.

3

409-7612

BOLT,3/8"-16 x 1.09" OAL

14шт.

4

232-5316

FLANGE NUT,Flg, 3/8"-16

lock, hex flange top, GR/G, 3/8-16

14шт.

5

700134303

EXTENSION

platform

1шт.

6

433-512

CARRIAGE BOLT,Sq Nk, 5/16" - 18 x 3/4", Gr 5

6шт.

7

496-21034

WASHER,11/32" x 11/16" x 0.89", HDN

6шт.

8

425-105

NUT,5/16"-18, G5

6шт.

9

700715478

PAD

foam, S.N. CFH0145002 thru CFH0145399

1шт.

700719307

FOAM

left, S.N. CFH0145400 and later

1шт.

10

121-237

SERRATED BOLT,Hex, 3/8" - 16 x 1 1/4, Spcl

hex flange, 3/8-16 x 1-1/4, GR8

1шт.

11

700134280

STEP

left, WA

1шт.

12

700134302

ANGLE

cover

1шт.

13

121-226

SERRATED BOLT,Hex, 3/8" - 16 x 1"

4шт.

14

700708648

BUMPER

rubber

1шт.

15

700707203

CAPTIVE WASHER SCREW

machine, hex washer head, #12-24 x 3/4

1шт.

16

1954816C1

LOCK NUT

lock, special, #12-24

1шт.

17

700134294

RAIL

WA

1шт.

18

700711334

FASTENER

push-on

3шт.

19

700134335

ANGLE

1шт.

20

700719317

FOAM

center

1шт.

Выбрано товаров: 21