Запчасти Case IH 8860HP (07-16) - DOOR ASSEMBLY (90) - PLATFORM, CAB, BODYWORK AND DECALS

Схема запчастей Case IH 8860HP - (07-16) - DOOR ASSEMBLY (90) - PLATFORM, CAB, BODYWORK AND DECALS
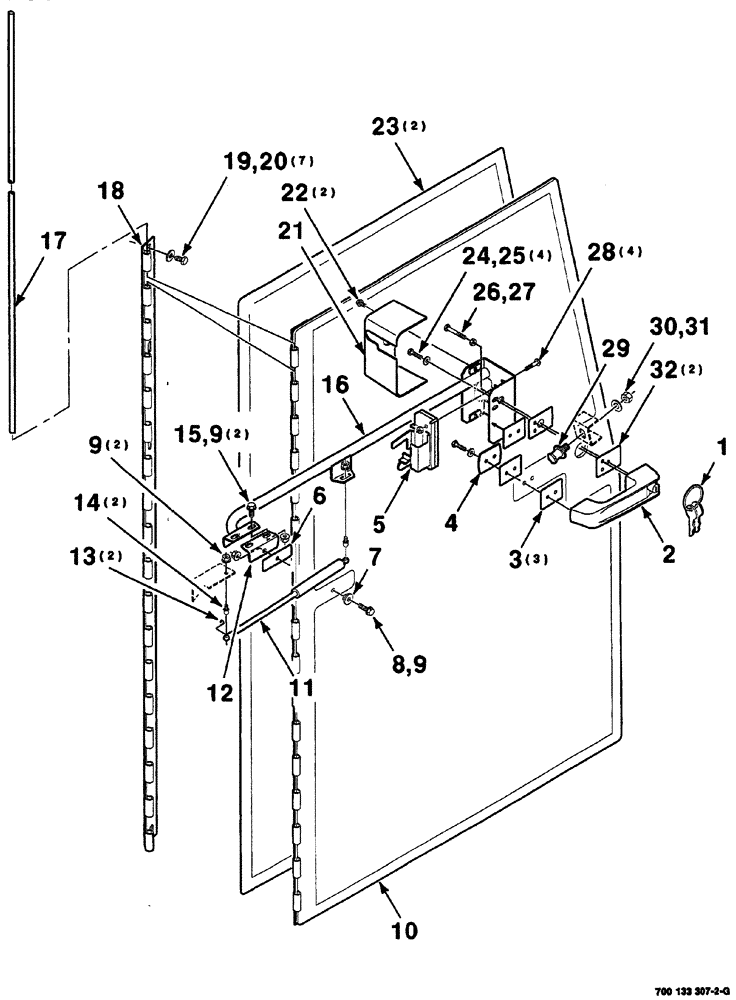
28
13
1
22
9
18
20
2
9
19
7
15
5
9
3
16
21
14
11
30
10
23
17
4
31
27
8
6
26
29
24
12
25
32
FIT
1:1
100%

Артикул

Название

Примечание

Количество

1

8025306

KEY

cab door

1шт.

machine, hex washer head, 5/16-18 x 3/4

1шт.

2

700715280

HANDLE

ASSY., Includes: Ref. 1

1шт.

3

700715287

SEAL

door latch

3шт.

4

700133445

PLATE

door latch

1шт.

5

700715281

LATCH

door

1шт.

6

700715286

SEAL

1шт.

7

8022196

BUSHING

molded

1шт.

8

121-108

BOLT,Hex Flg, 5/16"-18 x 1 1/4", Serr

machine, hex washer head, 5/16-18 x 1

1шт.

9

232-5315

FLANGE NUT,Flg, 5/16"-18

lock, hex flange top, GR/G, 5/16-18

5шт.

10

700133236

DOOR

ASSY., Includes: Ref. 17 and 18

1шт.

11

144006A1

GAS STRUT,381mm Extended, 240mm Compressed

DAMPER door

1шт.

12

700133450

SUPPORT

front

1шт.

13

700715278

CLIP

2шт.

14

700715279

STUD

JOINT ball

2шт.

15

121-115

SERRATED BOLT,Hex, 5/16" - 18 x 3/4"

2шт.

16

700133446

MOUNTING CLIP

door, WA

1шт.

17

700133452

PIN

hinge

1шт.

Part of Door Assy. Ref. 10 P/N 700133236

1шт.

18

700133457

HINGE

door

1шт.

Part of Door Assy. Ref. 10 P/N 700133236

1шт.

19

413-512

BOLT,Hex, 5/16" - 18 x 3/4", Gr 5

7шт.

20

495-61034

WASHER,0.34" ID x 0.88" OD x 0.06" Thk

plain, wide, 5/16

7шт.

21

700715290

COVER

door latch

1шт.

22

121-3

SERRATED BOLT,Hex, 1/4" - 20 x 1/2", Gr 5

2шт.

23

1990761C2

DOOR SEAL

2шт.

24

614-6025

BOLT,Hex, M6 x 1 x 25mm, Cl 8.8, Full Thd

4шт.

25

496-11028

WASHER,9/32" x 5/8" x .065, HDN

plain, hardened, 1/4

4шт.

26

413-428

BOLT,Hex, 1/4" - 20 x 1-3/4", Gr 5

cap, hex, 1/4-20 x 1-3/4

1шт.

27

425-104

NUT,1/4"-20, Cl 5

1шт.

28

440-12512

SCREW,Cross Pan Hd, 1/4"-20 x 3/4"

GR60M

4шт.

29

700704801

BOLT,Striker, 7/16" - 14 x 1.715"

striker

1шт.

30

496-21047

WASHER

plain, hardened, 7/16

1шт.

31

425-107

NUT,7/16"-14, G5

1шт.

32

700715288

DOOR SEAL

door latch

2шт.

Выбрано товаров: 35