Запчасти Case IH 8860HP (07-18) - GLASS ASSEMBLY (RIGHT AND REAR) (90) - PLATFORM, CAB, BODYWORK AND DECALS

Схема запчастей Case IH 8860HP - (07-18) - GLASS ASSEMBLY (RIGHT AND REAR) (90) - PLATFORM, CAB, BODYWORK AND DECALS
10
17
8
3
4
19
22
4
2
9
7
15
23
5
21
11
1
13
20
6
12
14
16
4
13
18
FIT
1:1
100%

Артикул

Название

Примечание

Количество

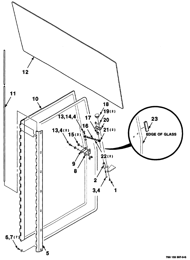
1

434-512

CARRIAGE BOLT,Sht Sq Nk, 5/16" - 18 x 3/4", Gr 5

1шт.

2

6605174

TUBE,19.05 mm OD, 35 mm Length

1шт.

3

413-544

BOLT,Hex, 5/16" - 18 x 2-3/4", Gr 5

1шт.

4

232-5315

FLANGE NUT,Flg, 5/16"-18

lock, hex flange top, GR/G, 5/16-18

4шт.

5

700133457

HINGE

door

1шт.

Part of Window Assy. Ref. 10 P/N 700149589

1шт.

6

413-512

BOLT,Hex, 5/16" - 18 x 3/4", Gr 5

7шт.

7

495-61034

WASHER,0.34" ID x 0.88" OD x 0.06" Thk

plain, wide, 5/16

7шт.

8

700133443

ANGLE

1шт.

9

700715289

SPACER

rubber

1шт.

10

700149589

WINDOW

ASSY., Includes: Ref. 5 and 11

1шт.

11

700133452

PIN

hinge

1шт.

Part of Window Assy. Ref. 10 P/N 700149589

1шт.

12

700715273

GLASS

window, rear

1шт.

13

121-108

BOLT,Hex Flg, 5/16"-18 x 1 1/4", Serr

machine, hex washer head, 5/16-18 x 1

3шт.

14

496-21034

WASHER,11/32" x 11/16" x 0.89", HDN

1шт.

15

8022196

BUSHING

molded

2шт.

16

700715686

ROD

1шт.

17

6270888

BUSHING

1шт.

18

700707234

BUTTON

KNOB

1шт.

19

7825425

WASHER

fiber

2шт.

20

700133442

STRAP

1шт.

21

700703692

ADJUSTMENT ROD

END rod

2шт.

22

425-155

JAM NUT,Jam, 5/16"-24, G5

Hex

2шт.

23

700130798

ADHESIVE STRIP

TRIM

1шт.

Выбрано товаров: 25