Запчасти Case IH 8860HP (05-08) - BRAKE ASSEMBLY (LEFT AND RIGHT) (33) - BRAKES & CONTROLS

Схема запчастей Case IH 8860HP - (05-08) - BRAKE ASSEMBLY (LEFT AND RIGHT) (33) - BRAKES & CONTROLS
8
10
3
6
1
9
4
11
2
4
7
5
FIT
1:1
100%

Артикул

Название

Примечание

Количество

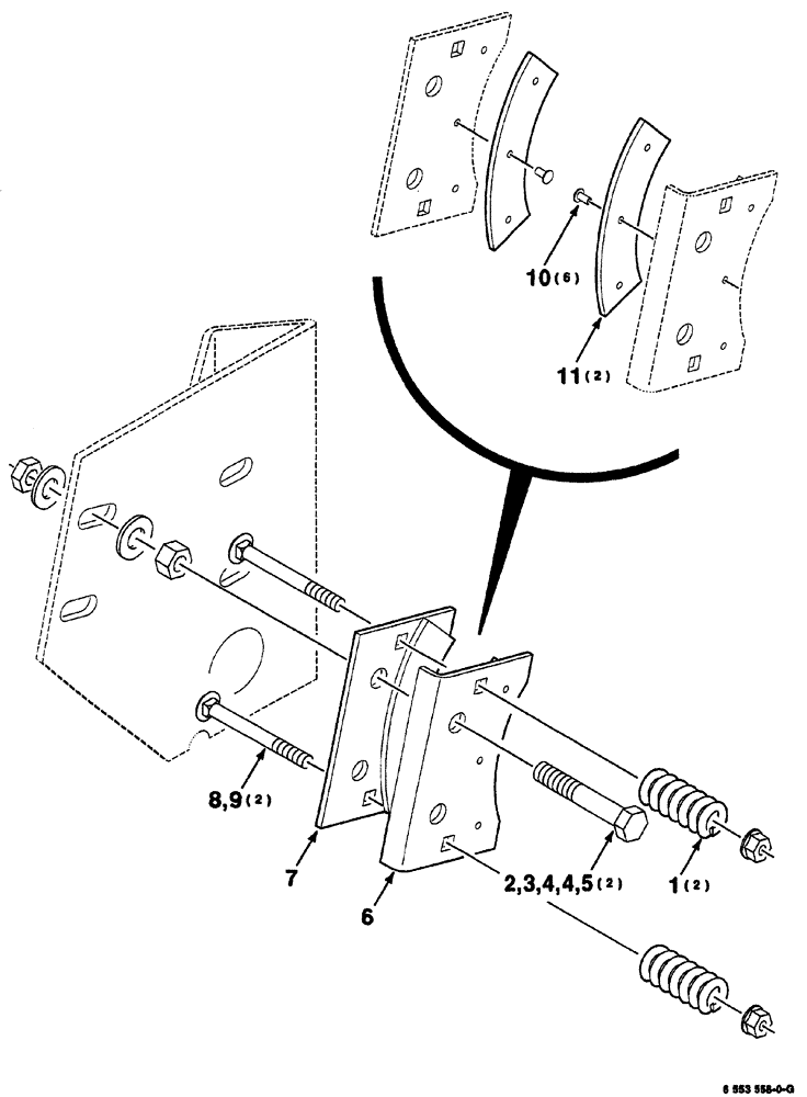
1

7758154

SPRING

compression

2шт.

2

413-636

BOLT,Hex, 3/8" - 16 x 2-1/4", Gr 5

2шт.

3

425-106

NUT,3/8"-16, Cl 5

2шт.

4

496-11041

WASHER,13/32" x 13/16" x .065", HDN

plain, hardened, 3/8

4шт.

5

425-146

JAM NUT,3/8" - 16, Gr 5

2шт.

6

6553556

BRACKET

BRAKE ASSY. left, Includes: Ref. 10 and 11

1шт.

7

6553572

BRAKE LINING

BRAKE ASSY. right, Includes: Ref. 10 and 11

1шт.

8

433-440

CARRIAGE BOLT,Sq Nk, 1/4" - 20 x 2 1/2", Gr 5

round head square neck, 1/4-20 x 2-1/2

2шт.

9

1703354

NUT

lock, hex flange top, GR/G, 1/4-20

2шт.

10

64980

RIVET

6шт.

Part of Left Brake Assy. Ref. 6 P/N 6553556

1шт.

Part of Right Brake Assy. Ref. 7 P/N 6553572

1шт.

11

700711021

BRAKE LINING

brake

2шт.

Part of Left Brake Assy. Ref. 6 P/N 6553556

1шт.

Part of Right Brake Assy. Ref. 7 P/N 6553572

1шт.

Выбрано товаров: 15