Запчасти Case IH 8860HP (08-08) - HYDRAULIC GEAR PUMP ASSEMBLY (35) - HYDRAULIC SYSTEMS

Схема запчастей Case IH 8860HP - (08-08) - HYDRAULIC GEAR PUMP ASSEMBLY (35) - HYDRAULIC SYSTEMS
5
2
7
1
8
6
10
4
9
11
3
FIT
1:1
100%

Артикул

Название

Примечание

Количество

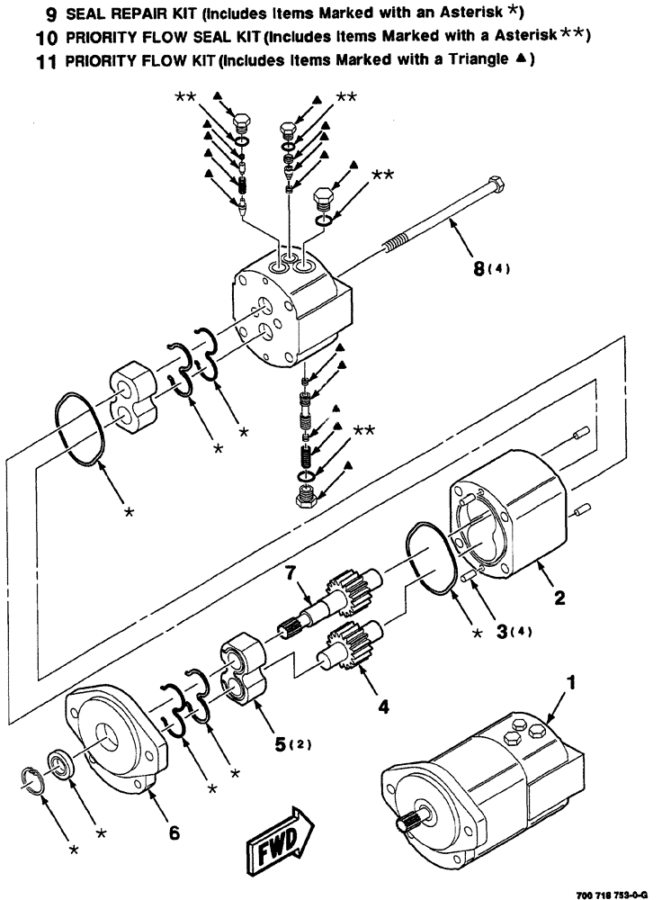
1

700718753

PUMP

ASSY. hydraulic gear

1шт.

2

700718439

HOUSING

gear

1шт.

3

700718438

PIN

dowel

4шт.

4

700718441

GEAR

idler

1шт.

5

700718436

BLOCK

bushing

2шт.

6

700718435

FLANGE

1шт.

7

700718440

GEAR

drive

1шт.

8

700718442

SCREW

cap, 10M x 1.50 x 150

4шт.

9

700718433

KIT

seal

1шт.

10

700718432

KIT

priority flow seal

1шт.

11

700718434

KIT

priority flow repair

1шт.

Выбрано товаров: 11