Качественные детали и логистика
Оригинальные и аналоговые запчасти с доставкой по России, Казахстану и Беларуси
©2022 PartSell ООО "Система" ИНН 2463123282 ОГРН 1212400004838
Центральный офис: г. Красноярск, Академика Киренского, д.87, пом.4
Телефон: 8 (800) 777-65-74 Email: zakaz@partsell.ru
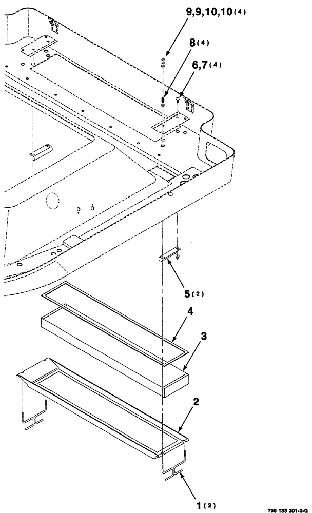
(07-44) - FILTER ASSEMBLY
№
Артикул
Название
Примечание
Количество
1
700133404
ROD
LEVER, WA filter
2шт.
2
700133400
HOUSING
filter
1шт.
3
8022345
FILTER
4
8022501
SEAL
5
700133408
RETAINER
6
433-512
CARRIAGE BOLT,Sq Nk, 5/16" - 18 x 3/4", Gr 5
4шт.
7
232-5315
FLANGE NUT,Flg, 5/16"-18
lock, hex flange top, GR/G, 5/16"-18
8
58925
SPRING
compression
9
496-11028
WASHER,9/32" x 5/8" x .065, HDN
plain, hardened, 1/4"
8шт.
10
425-104
NUT,1/4"-20, Cl 5
Выбрано товаров: 0