Запчасти Case IH 8870 (08-72) - ACTUATOR ASSEMBLY (55) - ELECTRICAL SYSTEMS

Схема запчастей Case IH 8870 - (08-72) - ACTUATOR ASSEMBLY (55) - ELECTRICAL SYSTEMS
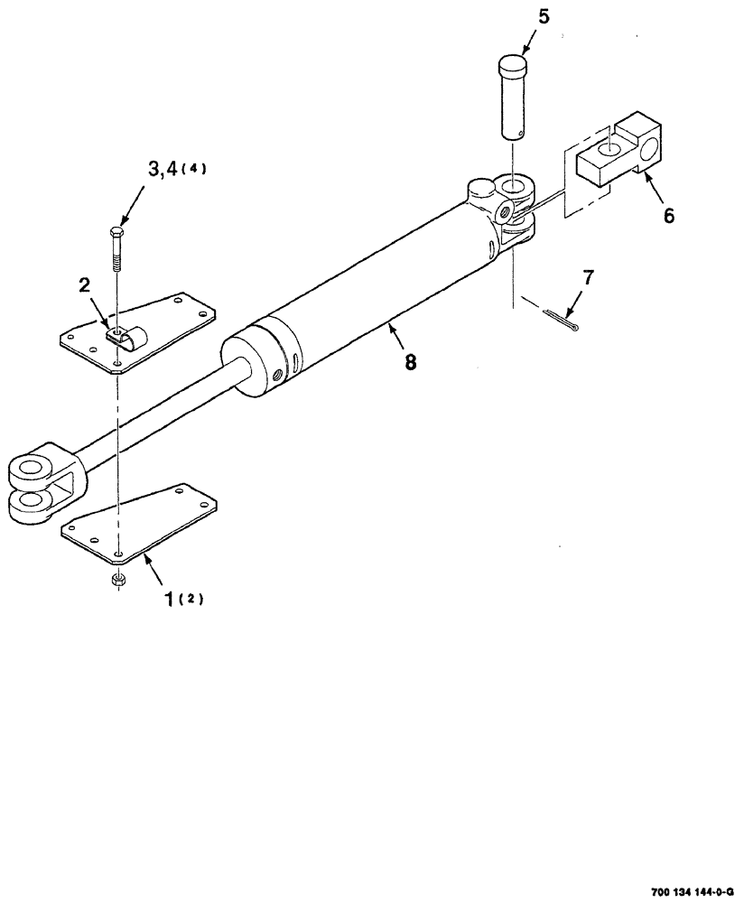
4
1
6
3
8
7
5
2
FIT
1:1
100%

Артикул

Название

Примечание

Количество

1

700134145

PLATE

stop

2шт.

2

515-2395

CLAMP,3/8", Insul, 3/8" Bolt

Line

1шт.

3

413-532

BOLT,Hex, 5/16" - 18 x 2", Gr 5

4шт.

4

232-5315

FLANGE NUT,Flg, 5/16"-18

lock, hex flange top, GR/G, 5/16"-18

4шт.

5

427-16350

CLEVIS PIN,25.4mm OD x 88.9mm L

clevis, 1" x 3-1/2"

1шт.

6

700117977

MOUNTING PARTS

1шт.

7

432-1228

COTTER PIN,3/16" x 1 3/4"

1шт.

8

700712017

CYLINDER

ASSEMBLY hydraulic, see Figure 08-74

1шт.

Выбрано товаров: 8