Качественные детали и логистика
Оригинальные и аналоговые запчасти с доставкой по России, Казахстану и Беларуси
©2022 PartSell ООО "Система" ИНН 2463123282 ОГРН 1212400004838
Центральный офис: г. Красноярск, Академика Киренского, д.87, пом.4
Телефон: 8 (800) 777-65-74 Email: zakaz@partsell.ru
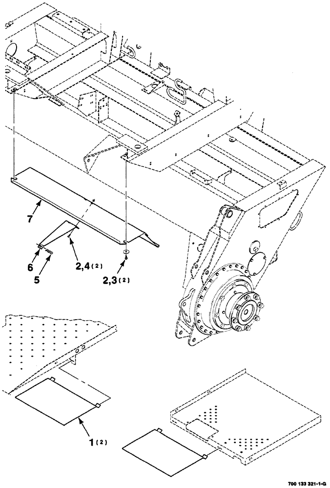
(07-02) - FRONT SHIELDS ASSEMBLY
№
Артикул
Название
Примечание
Количество
1
700122709
FLAP
2шт.
2
121-115
SERRATED BOLT,Hex, 5/16" - 18 x 3/4"
4шт.
3
700710049
WASHER
fender, 3/8"
4
232-5315
FLANGE NUT,Flg, 5/16"-18
lock, hex flange top, GR/G, 5/16"-18
5
S120261
PIN
cotter, wire hair, .148
1шт.
6
700134355
SUPPORT
WA
7
700133570
COVER
front
Выбрано товаров: 0