Запчасти Case IH 8870 (07-08) - PLATFORM, HANDRAIL AND STEP ASSEMBLIES (LEFT) (90) - PLATFORM, CAB, BODYWORK AND DECALS

Схема запчастей Case IH 8870 - (07-08) - PLATFORM, HANDRAIL AND STEP ASSEMBLIES (LEFT) (90) - PLATFORM, CAB, BODYWORK AND DECALS
3
5
4
1
7
13
15
12
3
3
11
18
14
3
2
6
2
7
9
2
3
8
8
10
10
2
3
9
16
2
17
2
FIT
1:1
100%

Артикул

Название

Примечание

Количество

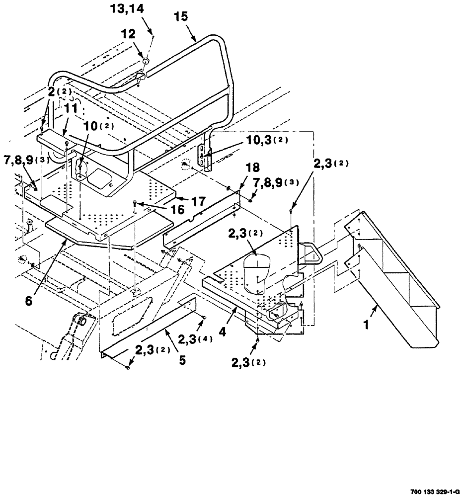
1

700134291

STEP

WA

1шт.

2

409-7612

BOLT,3/8"-16 x 1.09" OAL

14шт.

3

232-5316

FLANGE NUT,Flg, 3/8"-16

lock, hex flange top, GR/G, 3/8"-16

14шт.

4

700134282

STEP

WA left

1шт.

5

700134303

EXTENSION

platform

1шт.

6

700715478

PAD

foam

1шт.

S/N CFH0129001 thru CFH0189017

1шт.

Due to a design change, P/N 700715478 is not interchangeable with P/N 700719307

1шт.

6

700719307

FOAM

PAD left

1шт.

S/N CFH0189018 and later

1шт.

Due to a design change, P/N 700719307 is not interchangeable with P/N 700715478

1шт.

7

121-115

SERRATED BOLT,Hex, 5/16" - 18 x 3/4"

6шт.

8

700711334

FASTENER

push on

6шт.

9

231-5145

SERRATED NUT,Flg, USR, 5/16"-18

6шт.

10

121-226

SERRATED BOLT,Hex, 3/8" - 16 x 1"

4шт.

11

700134302

ANGLE

cover

1шт.

12

700708648

BUMPER

rubber

1шт.

13

700707203

CAPTIVE WASHER SCREW

SCREW machine, hex washer head, #12-24 x 3/4"

1шт.

14

1954816C1

LOCK NUT

lock, special, #12-24

1шт.

15

700134294

RAIL

WA

1шт.

16

121-237

SERRATED BOLT,Hex, 3/8" - 16 x 1 1/4, Spcl

flange, hex, 3/8"-16 x 1-1/4", grade 8

1шт.

17

700134280

STEP

WA left

1шт.

18

700134335

ANGLE

1шт.

Выбрано товаров: 23