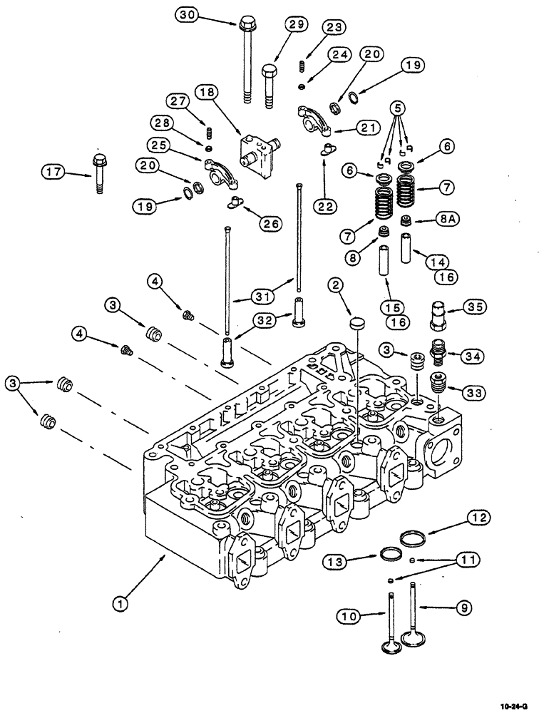
Запчасти Case IH 8870 (10-24) - CYLINDER HEAD AND VALVE MECHANISM (10) - ENGINE

Схема запчастей Case IH 8870 - (10-24) - CYLINDER HEAD AND VALVE MECHANISM (10) - ENGINE
30
5
4
4
11
9
13
8
16
29
18
32
6
22
12
28
26
34
33
2
19
14
17
3
3
25
23
7
1
31
8a
15
6
7
10
21
16
35
20
24
3
27
19
20
FIT
1:1
100%

Артикул

Название

Примечание

Количество

JR927330

REMAN-CYLINDER HEAD

ASSEMBLY, North America only, components parts shown on this figure do not apply to the remanufactured assembly

1шт.

JC927330

CORE-CYLINDER HEAD

RETURN NUMBER, use this part number to return head for credit when using a remanufactured assembly

1шт.

1

J927330

HEAD (CYLINDER)

ASSEMBLY new, with valves

1шт.

1

J933422

HEAD (CYLINDER)

ASSEMBLY new, without valves, Replaces: J917433

1шт.

2

A77783

PLUG

expansion, 21 mm OD

3шт.

3

217-466

DRAIN PLUG,Sq Soc, 1/2" - 14, NTPF

One removed to install temperature sending unit

5шт.

4

J906619

PLUG,1/8" - 27

hex, 1/8" PT

2шт.

5

J900250

SCREW

KEEPER valve

16шт.

6

J935038

RETAINER

spring, valve, Replaces: J900299

8шт.

7

J926700

VALVE SPRING

8шт.

8

J921640

SEAL

valve, valve stem, Replaces: J901097

4шт.

8a

J921640

SEAL

valve

4шт.

9

J920867

VALVE

intake

4шт.

10

J920868

VALVE

exhaust

4шт.

11

J910412

WEAR PAD

service repair only for valve stem tip, for use on intake and exhaust valves, Replaces: J280911

1шт.

12

J906854

SEAT, VALVE

insert, intake, service repair only

4шт.

13

J904105

SEAT, VALVE

insert, exhaust, service repair only

4шт.

14

J904408

GUIDE

valve, intake, service repair only, 14 mm OD

4шт.

This part is a semifinished valve guide

1шт.

15

J904409

GUIDE

valve, exhaust, service repair only, 14 mm OD

4шт.

This part is a semifinished valve guide

1шт.

16

J906206

GUIDE

valve, intake and exhaust, service repair only, 11 mm OD

8шт.

This part is a semifinished valve guide

1шт.

17

J920779

BOLT,Flng, M12 x 1.75 x 70mm, Cl 12.9

Cylinder head, 70 mm long, no longer used

4шт.

17

J920780

BOLT,Flng, M12 x 1.75 x 120mm, Cl 12.9

Cylinder head, 120 mm long, no longer used

10шт.

18

J922488

SUPPORT

SHAFT ASSEMBLY rocker arm

4шт.

19

J900242

SNAP RING

retaining, rocker arm

8шт.

20

J900245

WASHER

thrust, rocker arm

8шт.

21

J910811

ROCKER

ARM ASSEMBLY intake

4шт.

22

NSS

NOT SOLD SEPARAT

INSERT rocker arm

1шт.

23

J934086

ADJUSTMENT SCREW,3/8" - 24 x 29.85mm

ARM ASSEMBLY rocker, exhaust, Replaces: J900706

1шт.

24

A77902

NUT

hex, 3/8" NF, Replaces: 425-116

1шт.

25

J910810

ROCKER

ARM ASSEMBLY exhaust

4шт.

26

NSS

NOT SOLD SEPARAT

INSERT rocker arm

1шт.

27

J934086

ADJUSTMENT SCREW,3/8" - 24 x 29.85mm

ARM ASSEMBLY rocker, exhaust, Replaces: J900706

1шт.

28

A77902

NUT

hex, 3/8" NF, Replaces: 425-116

1шт.

29

814-8075

BOLT,Hex, M8 x 1.25 x 75mm, Cl 8.8

4шт.

30

J920781

BOLT,Flng, M12 x 1.75 x 180mm, Cl 12.9

Rocker arm and cylinder head, 180 mm long

4шт.

31

J284377

PUSH ROD

rocker arm, Replaces: J923262

8шт.

32

J931623

TAPPET

valve, push rod

8шт.

33

J922503

COUPLING

ADAPTER straight, 1/2" PT x 1/4" female PT, Replaces: 217-1109

1шт.

34

J935152

VALVE

check, Replaces: J911901

1шт.

35

217-112

FITTING,3/8" Hose x 3/8" NPTF, Fem, Barbed

Straight, 3/8" barb end x 3/8" female PT, no longer used

1шт.

Выбрано товаров: 43