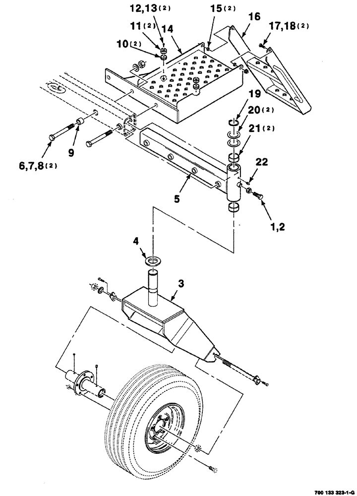
Запчасти Case IH 8870 (07-70) - REAR WHEEL ASSEMBLY - LEFT (27) - REAR AXLE SYSTEM

Схема запчастей Case IH 8870 - (07-70) - REAR WHEEL ASSEMBLY - LEFT (27) - REAR AXLE SYSTEM
3
19
5
11
20
22
15
12
1
14
10
2
18
6
8
4
7
16
9
21
13
17
FIT
1:1
100%

Артикул

Название

Примечание

Количество

1

413-1232

BOLT,Hex, 3/4" - 10 x 2", Gr 5

1шт.

2

425-1412

JAM NUT,Jam, 3/4"-10, G5

HJN, 3/4"-10, grade 2

1шт.

3

700134109

FORK

WA

1шт.

4

6268841

WASHER

1шт.

5

700130901

AXLE

WA rear, Includes: Ref. 21

1шт.

6

700152419

PIN

ASSEMBLY

2шт.

7

705574

WASHER,1 1/8" x 2" x .156", HDN

2шт.

8

232-41116

LOCK NUT,1"-8, GC

2шт.

9

700134128

BUSHING

1шт.

10

700134393

SPACER

2шт.

11

700708648

BUMPER

2шт.

12

7883291

SCREW,Hex Washer, 1/4" - 20 x 1 1/4"

machine, hex washer head, 1/4"-20 x 1-1/4"

2шт.

13

1703354

NUT

lock, hex flange top, GR/G, 1/4"-20

2шт.

14

700134133

PLATE

PLATFORM, WA

1шт.

15

6355697

LINK

BUSHING

2шт.

16

700134129

LADDER

WA

1шт.

17

413-820

BOLT,Hex, 1/2" - 13 x 1-1/4", Gr 5

2шт.

18

231-5348

FLANGE NUT,Flg, 1/2"-13

lock, hex flange top, GR/G, 1/2"-13

2шт.

19

103-11225

SNAP RING,#225, Ext

1шт.

20

852947

BUSHING

machinery, narrow rim, 2-1/4" x 14 gauge

2шт.

21

700718489

BRONZE BUSHING

2шт.

Part of Rear Axle Ref. 5 P/N 700130901

1шт.

22

219-8

LUBE NIPPLE,1/4" - 28 NPTF

1шт.

Выбрано товаров: 23