Запчасти Case IH 8870 (05-08) - LEFT AND RIGHT BRAKE ASSEMBLIES (33) - BRAKES & CONTROLS

Схема запчастей Case IH 8870 - (05-08) - LEFT AND RIGHT BRAKE ASSEMBLIES (33) - BRAKES & CONTROLS
3
8
4
2
10
1
11
9
4
6
5
7
FIT
1:1
100%

Артикул

Название

Примечание

Количество

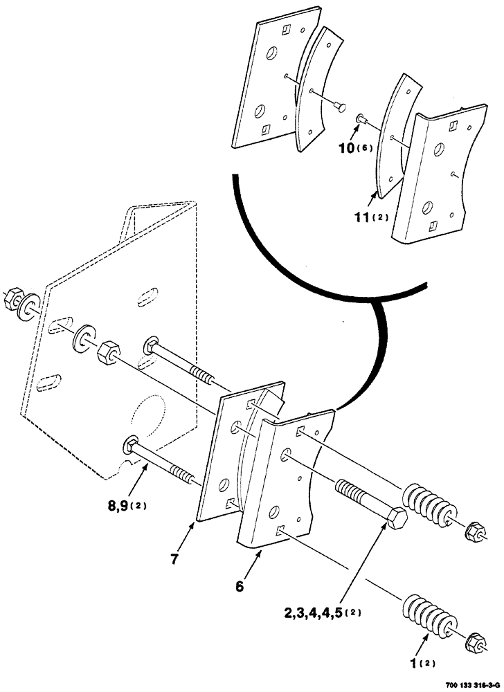
1

7758154

SPRING

compression

2шт.

2

413-636

BOLT,Hex, 3/8" - 16 x 2-1/4", Gr 5

2шт.

3

425-106

NUT,3/8"-16, Cl 5

2шт.

4

496-11041

WASHER,13/32" x 13/16" x .065", HDN

plain, hardened, 3/8"

4шт.

5

425-146

JAM NUT,3/8" - 16, Gr 5

2шт.

6

6553556

BRACKET

BRAKE ASSEMBLY left, Includes: Ref. 10 and 11

1шт.

7

6553572

BRAKE LINING

ASSEMBLY right, Includes: Ref. 10 and 11

1шт.

8

433-440

CARRIAGE BOLT,Sq Nk, 1/4" - 20 x 2 1/2", Gr 5

square neck, round head, 1/4"-20 x 2-1/2"

2шт.

9

1703354

NUT

lock, hex flange top, GR/G, 1/4"-20

2шт.

10

64980

RIVET

6шт.

Part of Left Brake Assembly Ref. 6 P/N 6553556

1шт.

Part of Right Brake Assembly Ref. 7 P/N 6553572

1шт.

11

700711021

BRAKE LINING

brake

2шт.

Part of Left Brake Assembly Ref. 6 P/N 6553556

1шт.

Part of Right Brake Assembly Ref. 7 P/N 6553572

1шт.

Выбрано товаров: 15