Качественные детали и логистика
Оригинальные и аналоговые запчасти с доставкой по России, Казахстану и Беларуси
©2022 PartSell ООО "Система" ИНН 2463123282 ОГРН 1212400004838
Центральный офис: г. Красноярск, Академика Киренского, д.87, пом.4
Телефон: 8 (800) 777-65-74 Email: zakaz@partsell.ru
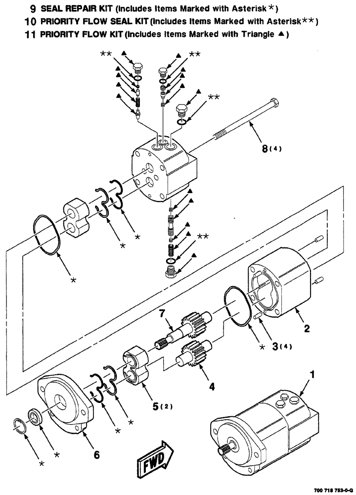
(08-08) - HYDRAULIC GEAR PUMP ASSEMBLY
№
Артикул
Название
Примечание
Количество
1
700718753
PUMP
ASSEMBLY hydraulic gear, complete
1шт.
2
700718439
HOUSING
gear
3
700718438
PIN
dowel
4шт.
4
700718441
GEAR
idler
5
700718436
BLOCK
bushing
2шт.
6
700718435
FLANGE
7
700718440
drive
8
700718442
SCREW
cap, 10M x 1.50 x 150
9
700718433
KIT
seal
10
700718432
seal, priority flow
11
700718434
repair, priority flow
Выбрано товаров: 0