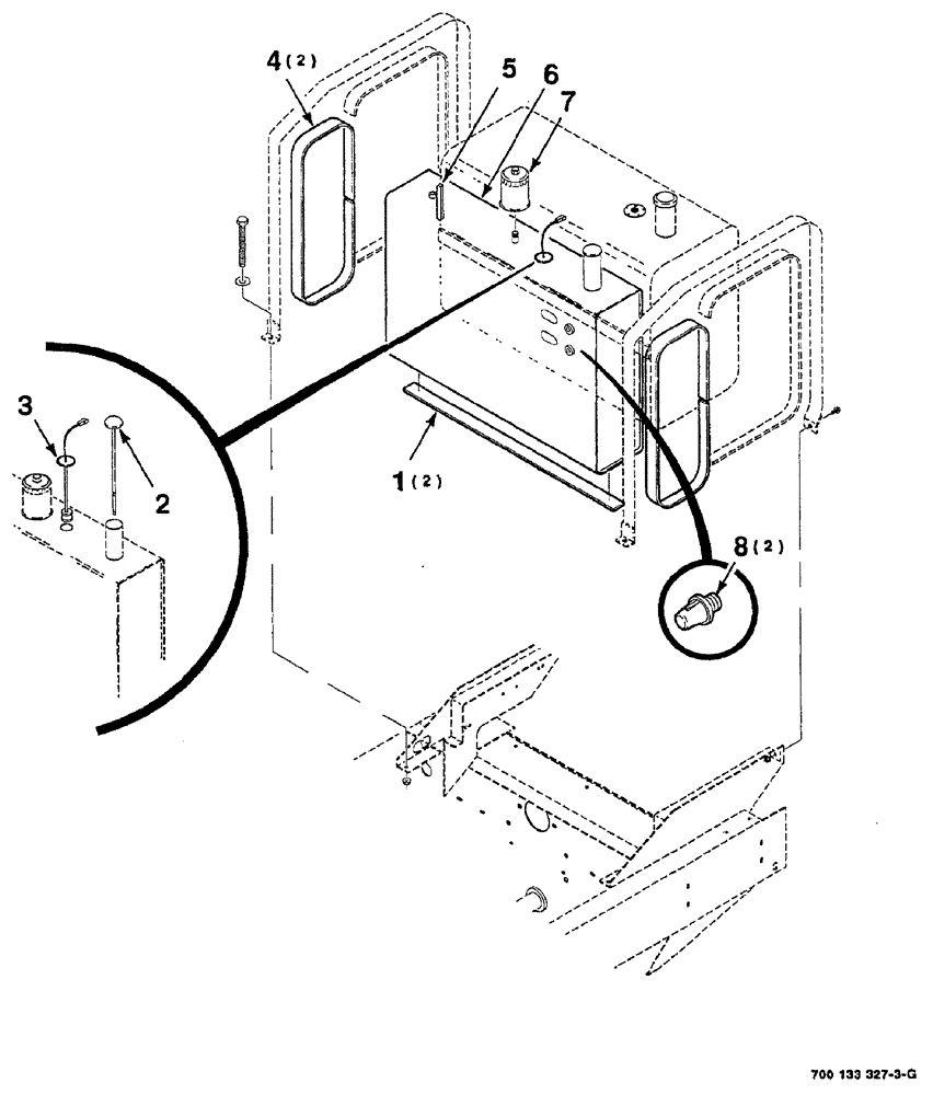
Запчасти Case IH 8870 (08-50) - OIL RESERVOIR AND MOUNTING ASSEMBLY (35) - HYDRAULIC SYSTEMS

Схема запчастей Case IH 8870 - (08-50) - OIL RESERVOIR AND MOUNTING ASSEMBLY (35) - HYDRAULIC SYSTEMS
6
2
4
7
8
1
5
3
FIT
1:1
100%

Артикул

Название

Примечание

Количество

1

700715472

STRAP

rubber

2шт.

2

700715712

CAP

with dipstick

1шт.

Part of Oil Reservoir Ref. 6 P/N 700715469

1шт.

3

700715499

SWITCH

level

1шт.

Part of Oil Reservoir Ref. 6 P/N 700715469

1шт.

4

700715470

STRAP

rubber

2шт.

5

700105604

ADHESIVE STRIP

TRIM

1шт.

6

700715469

RELAY

RESERVOIR oil, Includes: Ref. 2 and 3

1шт.

7

7825516

FILTER

1шт.

8

8799439

GAUGE

sight

2шт.

Выбрано товаров: 10