Запчасти Case IH 8880 (07-002) - FRONT SHIELDS ASSEMBLY (90) - PLATFORM, CAB, BODYWORK AND DECALS

Схема запчастей Case IH 8880 - (07-002) - FRONT SHIELDS ASSEMBLY (90) - PLATFORM, CAB, BODYWORK AND DECALS
3
2
7
4
9
8
1
6
5
10
FIT
1:1
100%

Артикул

Название

Примечание

Количество

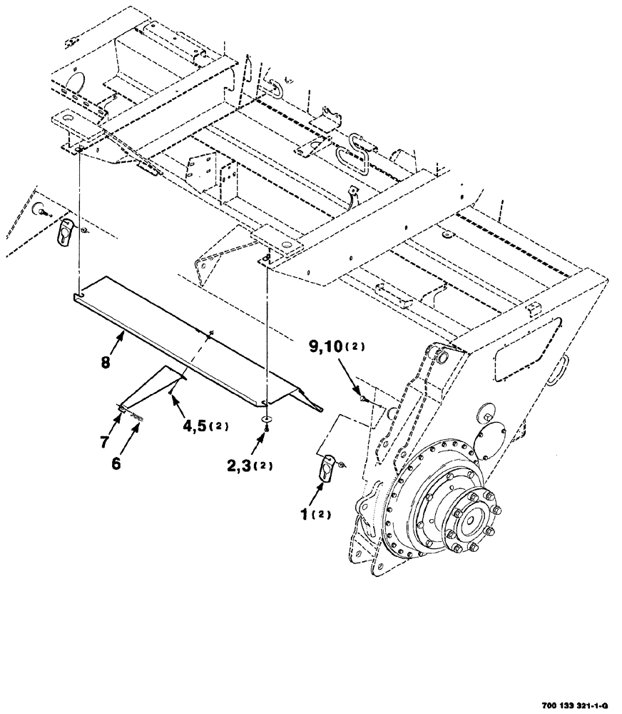
1

700130071

HANGER

rear

2шт.

2

121-115

SERRATED BOLT,Hex, 5/16" - 18 x 3/4"

2шт.

3

700710049

WASHER

fender, 3/8

2шт.

4

121-108

BOLT,Hex Flg, 5/16"-18 x 1 1/4", Serr

5/16-18 x 1, HWHMS

2шт.

5

232-5315

FLANGE NUT,Flg, 5/16"-18

5/16-18, HFTLN, GR/G

2шт.

6

S120261

PIN

.148 wire hair cotter

1шт.

7

700134355

SUPPORT

WA

1шт.

8

700133570

COVER

front

1шт.

9

121-226

SERRATED BOLT,Hex, 3/8" - 16 x 1"

2шт.

10

232-5316

FLANGE NUT,Flg, 3/8"-16

3/8-16, HFTLN, GR/G

2шт.

Выбрано товаров: 10