Качественные детали и логистика
Оригинальные и аналоговые запчасти с доставкой по России, Казахстану и Беларуси
©2022 PartSell ООО "Система" ИНН 2463123282 ОГРН 1212400004838
Центральный офис: г. Красноярск, Академика Киренского, д.87, пом.4
Телефон: 8 (800) 777-65-74 Email: zakaz@partsell.ru
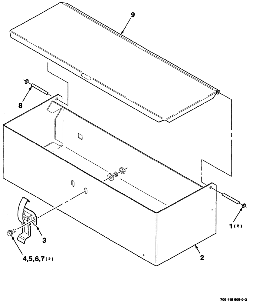
(07-008) - TOOL BOX ASSEMBLY
№
Артикул
Название
Примечание
Количество
1
700707858
SNAP RING
RING
2шт.
2
700115910
TOOL BOX
tool box, WA
1шт.
3
700706849
LATCH
4
463-3128
SCREW,Hex Wash Hd, #12-24 x 1/2"
#12-24 x 1/2, HWHMS
5
27616R1
WASHER,.281" x 5/8" x .075", HDN
#12 plain
6
492-11012
LOCK WASHER,#12
7
225-14112
NUT,#12-24
H, GR 2 #12-24
8
700115914
PIN
hinge
9
700115913
LID
LID tool box
Выбрано товаров: 0