Запчасти Case IH 8880 (07-012) - PLATFORM, HANDRAIL AND STEP ASSEMBLIES - LEFT (8880HP) (90) - PLATFORM, CAB, BODYWORK AND DECALS

Схема запчастей Case IH 8880 - (07-012) - PLATFORM, HANDRAIL AND STEP ASSEMBLIES - LEFT (8880HP) (90) - PLATFORM, CAB, BODYWORK AND DECALS
3
4
4
13
3
3
1
10
2
7
10
5
3
9
12
9
3
6
4
11
4
8
13
17
14
15
4
16
18
8
4
FIT
1:1
100%

Артикул

Название

Примечание

Количество

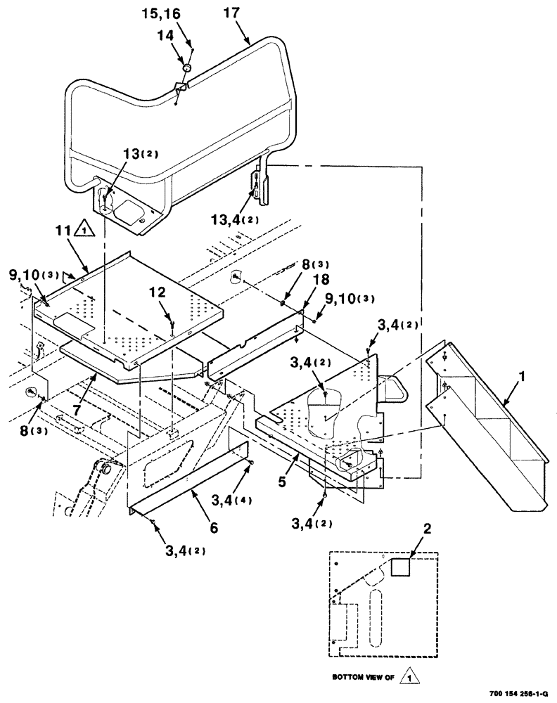
1

700134291

STEP

WA

1шт.

2

700719317

FOAM

CTR

1шт.

3

409-7612

BOLT,3/8"-16 x 1.09" OAL

12шт.

4

232-5316

FLANGE NUT,Flg, 3/8"-16

3/8-16, HFTLN, GR/G

14шт.

5

700134282

STEP

WA, left

1шт.

6

700134303

EXTENSION

platform

1шт.

7

700719307

FOAM

left

1шт.

8

700711334

FASTENER

push on

6шт.

9

433-512

CARRIAGE BOLT,Sq Nk, 5/16" - 18 x 3/4", Gr 5

6шт.

10

232-5315

FLANGE NUT,Flg, 5/16"-18

5/16-18, HFTLN, GR/G

6шт.

11

700134280

STEP

WA, left

1шт.

12

121-237

SERRATED BOLT,Hex, 3/8" - 16 x 1 1/4, Spcl

3/8-16 x 1-1/4, HFS GR8

1шт.

13

121-226

SERRATED BOLT,Hex, 3/8" - 16 x 1"

4шт.

14

700708648

BUMPER

rubber

1шт.

15

700707203

CAPTIVE WASHER SCREW

#12-24 x 3/4, HWHMS

1шт.

16

1954816C1

LOCK NUT

012-24, lock, special

1шт.

17

700134294

RAIL

WA

1шт.

18

700134335

ANGLE

1шт.

Выбрано товаров: 18