Запчасти Case IH 8880 (07-018) - DOOR ASSEMBLY (90) - PLATFORM, CAB, BODYWORK AND DECALS

Схема запчастей Case IH 8880 - (07-018) - DOOR ASSEMBLY (90) - PLATFORM, CAB, BODYWORK AND DECALS
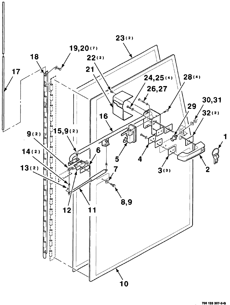
19
30
1
12
10
7
6
18
2
27
25
24
26
13
9
9
16
29
11
31
14
20
3
9
22
4
28
21
17
8
23
15
32
5
FIT
1:1
100%

Артикул

Название

Примечание

Количество

1

8025306

KEY

cab door

1шт.

2

700715280

HANDLE

ASSEMBLY (Includes Ref. 1)

1шт.

3

700715287

SEAL

door latch

3шт.

4

700133445

PLATE

door latch

1шт.

5

700715281

LATCH

door

1шт.

6

700715286

SEAL

1шт.

7

8022196

BUSHING

molded

1шт.

8

121-108

BOLT,Hex Flg, 5/16"-18 x 1 1/4", Serr

5/16-18 x 1, HWHMS

1шт.

9

232-5315

FLANGE NUT,Flg, 5/16"-18

5/16-18, HFTLN, GR/G

5шт.

10

700133236

DOOR

ASSEMBLY (Includes Refs. 17 and 18)

1шт.

11

144006A1

GAS STRUT,381mm Extended, 240mm Compressed

damper, door

1шт.

12

700133450

SUPPORT

front

1шт.

13

700715278

CLIP

2шт.

14

700715279

STUD

ball joint

2шт.

15

121-115

SERRATED BOLT,Hex, 5/16" - 18 x 3/4"

2шт.

16

700133446

MOUNTING CLIP

WA, door

1шт.

17

700133452

PIN

hinge

1шт.

18

700133457

HINGE

door

1шт.

19

413-512

BOLT,Hex, 5/16" - 18 x 3/4", Gr 5

C

7шт.

20

495-61034

WASHER,0.34" ID x 0.88" OD x 0.06" Thk

wide plain, 5/16

7шт.

21

700715290

COVER

door latch

1шт.

22

121-3

SERRATED BOLT,Hex, 1/4" - 20 x 1/2", Gr 5

2шт.

23

1990761C2

DOOR SEAL

2шт.

24

614-6025

BOLT,Hex, M6 x 1 x 25mm, Cl 8.8, Full Thd

4шт.

25

496-11028

WASHER,9/32" x 5/8" x .065, HDN

hardened plain, 1/4

4шт.

26

413-428

BOLT,Hex, 1/4" - 20 x 1-3/4", Gr 5

1/4-20 x 1-3/4, C

1шт.

27

425-104

NUT,1/4"-20, Cl 5

1шт.

28

440-12512

SCREW,Cross Pan Hd, 1/4"-20 x 3/4"

GR 60, M

4шт.

29

700704801

BOLT,Striker, 7/16" - 14 x 1.715"

STRIKER

1шт.

30

496-21047

WASHER

hardened plain, 7/16

1шт.

31

425-107

NUT,7/16"-14, G5

1шт.

32

700715288

DOOR SEAL

door latch

2шт.

Выбрано товаров: 32