Запчасти Case IH 8880 (02-022) - FUEL TANK AND MOUNTING ASSEMBLY (10) - ENGINE

Схема запчастей Case IH 8880 - (02-022) - FUEL TANK AND MOUNTING ASSEMBLY (10) - ENGINE
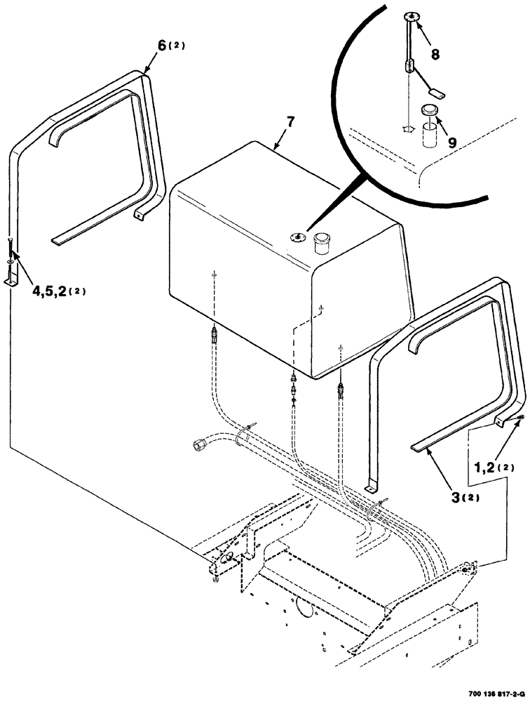
7
2
1
5
2
4
9
3
6
8
FIT
1:1
100%

Артикул

Название

Примечание

Количество

1

413-616

BOLT,Hex, 3/8" - 16 x 1", Gr 5

2шт.

2

231-5146

FLANGE NUT,3/8"-16

4шт.

3

700716572

STRAP

rubber

2шт.

4

113-263

BOLT,Hex, 3/8" - 16 x 3-1/2", Gr 5, Full Thd

2шт.

5

496-11028

WASHER,9/32" x 5/8" x .065, HDN

hardened plain, 3/8

2шт.

6

700136875

STRAP

2шт.

7

700716569

TANK

ASSEMBLY, fuel (Includes Refs. 8 and 9)

1шт.

8

700726798

SENDER UNIT

SENDER ASSEMBLY, heavy duty

1шт.

9

700715688

CAP

fuel, vented

1шт.

Выбрано товаров: 9