Запчасти Case IH 8880HP (07-048) - RADIATOR SUPPORT ASSEMBLY (10) - ENGINE

Схема запчастей Case IH 8880HP - (07-048) - RADIATOR SUPPORT ASSEMBLY (10) - ENGINE
12
25
7
21
8
15
2
4
6
23
2
1
1
18
26
4
8
13
15
1
5
2
2
20
1
2
10
14
17
4
24
16
19
2
2
11
1
22
9
2
23
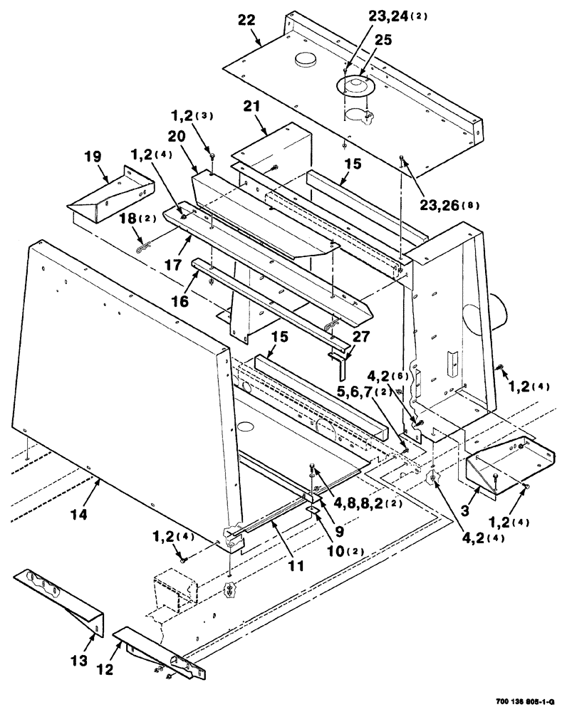
3
27
FIT
1:1
100%

Артикул

Название

Примечание

Количество

1

121-115

SERRATED BOLT,Hex, 5/16" - 18 x 3/4"

19шт.

2

232-5315

FLANGE NUT,Flg, 5/16"-18

5/16-18, HFTLN, GR/G

31шт.

3

700136849

SUPPORT

left

1шт.

4

121-108

BOLT,Hex Flg, 5/16"-18 x 1 1/4", Serr

5/16-18 x 1, HWHMS

12шт.

5

433-512

CARRIAGE BOLT,Sq Nk, 5/16" - 18 x 3/4", Gr 5

2шт.

6

496-21034

WASHER,11/32" x 11/16" x 0.89", HDN

2шт.

7

425-105

NUT,5/16"-18, G5

2шт.

8

495-61034

WASHER,0.34" ID x 0.88" OD x 0.06" Thk

hardened plain, 5/16

4шт.

9

700134162

ANGLE

1шт.

10

700120969

SHIM

2шт.

11

700134161

FLOOR

1шт.

12

700120967

ANGLE

left

1шт.

13

700120968

ANGLE

right

1шт.

14

700134160

PANEL

front

1шт.

15

700716494

GASKET

shrouding

2шт.

16

700114863

STOP

1шт.

17

700134165

ANGLE

1шт.

18

T54573

PIN

wire hair, cotter, .120

2шт.

19

700136850

SUPPORT

right

1шт.

20

700130285

DEFLECTOR

1шт.

21

700136835

SUPPORT

bulkhead, WA, radiator

1шт.

22

700136845

PANEL

WA, upper

1шт.

23

121-3

SERRATED BOLT,Hex, 1/4" - 20 x 1/2", Gr 5

10шт.

24

231-5144

SERRATED NUT,Flg, USR, 1/4"-20

2шт.

25

700136893

CAP

1шт.

26

1703354

NUT

1/4-20, HFTLN, GR/G

8шт.

27

700130064

ANGLE

stop

1шт.

Выбрано товаров: 27