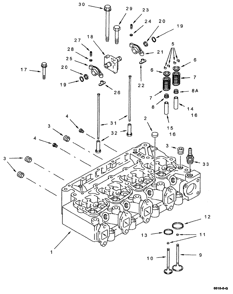
Запчасти Case IH 8880HP (10-024) - CYLINDER HEAD AND VALVE MECHANISM - 6T-590 EMISSIONS CERTIFIED ENGINE (10) - ENGINE

Схема запчастей Case IH 8880HP - (10-024) - CYLINDER HEAD AND VALVE MECHANISM - 6T-590 EMISSIONS CERTIFIED ENGINE (10) - ENGINE
18
20
14
33
10
3
4
13
4
3
24
12
21
20
19
6
6
26
7
15
31
11
23
16
25
29
28
8
32
27
30
8a
16
3
9
2
5
22
19
7
1
17
FIT
1:1
100%

Артикул

Название

Примечание

Количество

JR934769

REMAN-CYLINDER HEAD

ASSEMBLY, North America only, component parts shown on this Fig. do not apply to the remanufactured assembly

1шт.

JC927301

CORE-CYLINDER HEAD

RETURN NUMBER, use this part number to return cylinder head corefor credit when using a remanufactured assembly

1шт.

J934769

HEAD (CYLINDER)

ASSEMBLY, new, with valves

1шт.

1

J934746

HEAD (CYLINDER)

ASSEMBLY, without valves

1шт.

2

A77782

PLUG

expansion, 58 mm O.D.

5шт.

3

217-466

DRAIN PLUG,Sq Soc, 1/2" - 14, NTPF

5шт.

4

J906619

PLUG,1/8" - 27

hex, 1/8 inch PT

2шт.

5

CASJ900250

RETAINER

keeper valve

24шт.

6

J935038

RETAINER

valve spring, replaces J900299

12шт.

7

J926700

VALVE SPRING

12шт.

8

J921640

SEAL

valve, replaces J901097

6шт.

8a

J921640

SEAL

valve

6шт.

9

J920867

VALVE

intake

6шт.

10

J920868

VALVE

exhaust

6шт.

11

J910412

WEAR PAD

valve stem tip, for use on intake and exhaust valves, service repair only

12шт.

12

J906854

SEAT, VALVE

insert, intake, service repair only

6шт.

13

J904105

SEAT, VALVE

insert, exhaust, service repair only

6шт.

14

J904408

GUIDE

valve, intake, service repair only, 14 mm O.D.

6шт.

15

J904409

GUIDE

valve, exhaust, service repair only, 14 mm O.D.

6шт.

16

J906206

GUIDE

valve, intake and exhaust, service repair only, 11 mm O.D.

12шт.

17

J920779

BOLT,Flng, M12 x 1.75 x 70mm, Cl 12.9

Cylinder head, 70 mm long

6шт.

17

J920780

BOLT,Flng, M12 x 1.75 x 120mm, Cl 12.9

Cylinder head, 120 mm long

12шт.

16

J922488

SUPPORT

AND SHAFT ASSEMBLY, rocker arm

6шт.

19

J900242

SNAP RING

retaining, rocker arm

12шт.

20

J900245

WASHER

thrust, rocker arm

12шт.

21

J910811

ROCKER

ARM ASSEMBLY, intake

6шт.

22

NSS

NOT SOLD SEPARAT

BOLT, rocker arm and cylinder head, 180 mm long

6шт.

23

J934086

ADJUSTMENT SCREW,3/8" - 24 x 29.85mm

ARM ASSEMBLY, rocker, exhaust, replaces J900706

1шт.

24

A77902

NUT

hex, 3/8 inch NF, arm, replaces 425-116

1шт.

25

J910810

ROCKER

ARM ASSEMBLY, exhaust

6шт.

26

NSS

NOT SOLD SEPARAT

NUT hex, 3/8 inch NF

1шт.

27

J934086

ADJUSTMENT SCREW,3/8" - 24 x 29.85mm

ARM ASSEMBLY, rocker, exhaust, replaces J900706

1шт.

28

A77902

NUT

hex, 3/8 inch NF, replaces 425-116

1шт.

29

814-8075

BOLT,Hex, M8 x 1.25 x 75mm, Cl 8.8

6шт.

30

J920781

BOLT,Flng, M12 x 1.75 x 180mm, Cl 12.9

Rocker arm and cylinder head, 180 mm long

6шт.

31

J284377

PUSH ROD

rocker arm, replaces J923262

12шт.

32

J931623

TAPPET

valve, push rod

12шт.

33

J935152

VALVE

check, installed in forward far right corner on top of cylinderhead, replaces J911901

1шт.

34

J935183

BUSHING check, not shown

1шт.

35

217-1109

REDUCER,1/2"-14 Male NPTF x 1/4"-18 Female NPTF

Adapter - straight, used with J911901

1шт.

36

217-112

FITTING,3/8" Hose x 3/8" NPTF, Fem, Barbed

Straight, 3/8 barb end x 3/8 inch female PT, used with J911901 valve, not shown

1шт.

Выбрано товаров: 41