Запчасти Case IH 8880HP (10-028) - CYLINDER BLOCK - 6T-590 EMISSIONS CERTIFIED ENGINE (10) - ENGINE

Схема запчастей Case IH 8880HP - (10-028) - CYLINDER BLOCK - 6T-590 EMISSIONS CERTIFIED ENGINE (10) - ENGINE
38
35
24
18a
7
7
10
2
25
18c
30
9
20
37
13
16
18d
18
31
33
40
17a
23
42
34
11
36
7
17
18e
6
5
21
6
8
6
18b
12
27
32
26
28
1
41
22
39
11
3
4
15
12a
29
19
9a
14
19a
FIT
1:1
100%

Артикул

Название

Примечание

Количество

371045A1

ENGINE ASSEMBLY, 6T 590 Emissions Certified, complete, for service order 246148A2R basic engine below

1шт.

The engine part number is stamped on a metal tag which is mounted on the front gear cover

1шт.

138067A2

ENGINE ASSEMBLY

ENGINE ASSY 6T-590 Emissions Certified, complete

1шт.

246148A2

BASIC ENGINE

Engine Basic - Emission Certified

1шт.

246148A2R

REMAN-BASIC ENGINE

Assembly, basic, remanufactured, component parts shown on this Fig. do not apply to the remanufactured assembly; See Note

1шт.

6-590-LBC

CORE-ENGINE

Return Part Number, use this part number to return basic engine core for credit when using a remanufactured assembly

1шт.

J933645

SKELETON ENGINE

BLOCK ASSEMBLY, short, new, includes stripped block, pistons, connecting rods and bearings, crankshaft and bearings

1шт.

Component parts shown on this Fig. do not apply to the remanufactured assembly

1шт.

JR933645

REMAN-SHORT ENGINE

Remanufactured

1шт.

6-590-SHBC

CORE-SHORT ENGINE

Return Part Number, Block Assy., Engine Cyl. Short 6T/6TA

1шт.

Use this part number to return short block core for credit when using a remanufactured assembly

1шт.

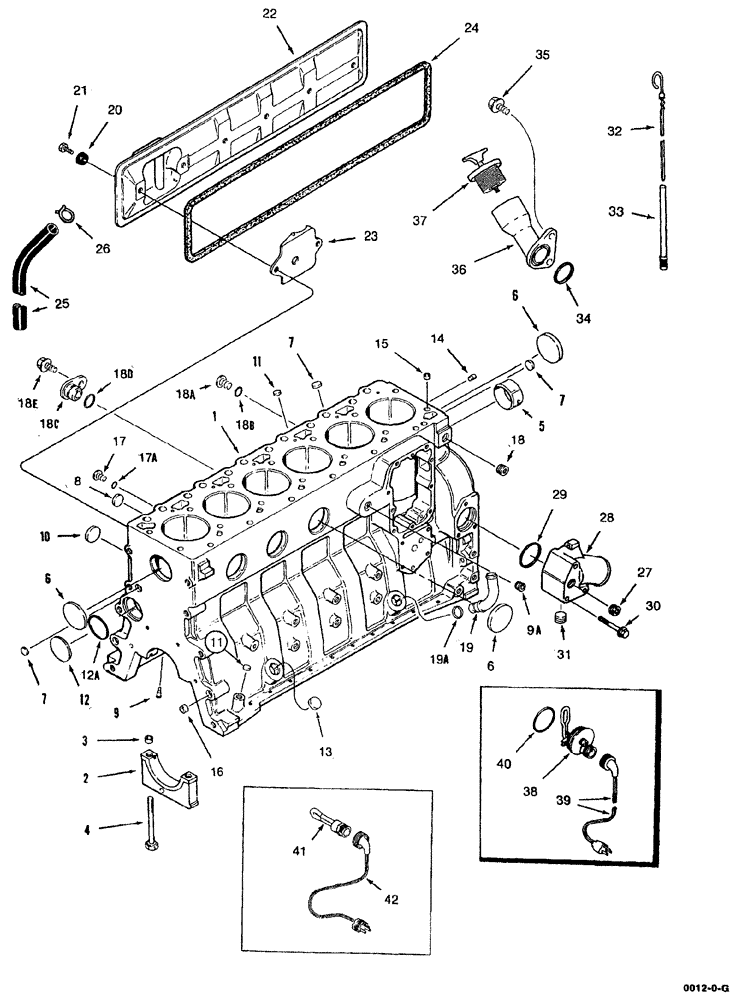
1

J933712

CYLINDER BLOCK

ASSEMBLY, stripped, engine, order J933220, hardware kit shown below also, replaces J933610

1шт.

2

J903492

BEARING CAP

CAP, main

7шт.

3

J900068

BEARING WASHER

RING dowel, 18 mm O.D.

14шт.

4

J927948

BOLT,Flng, MJ12 x 1.5H6H x 119mm, Cl 12.9

Main bearing cap, Special

14шт.

5

REF

INSTRUCTION

BUSHING camshaft, front, See Fig. 1-27, Ref. 6

1шт.

6

A77782

PLUG

expansion, 58 mm O.D.

5шт.

7

J900956

PLUG

expansion, 18 mm O.D.

3шт.

8

41-1616

PLUG,Cup, 1", Stainless

4шт.

J933220

PACKAGE,SERVICE

KIT block hardware, includes Refs. 9 - 18D

1шт.

9

J937214

NOZZLE CAP

piston cooling, replaces J930139

6шт.

9a

A77505

PLUG

hex socket, 3/4 inch PT

1шт.

10

J900958

PLUG

expansion, 32 mm O.D.

1шт.

11

J900955

PLUG

expansion, 10 mm, O.D.

2шт.

12

172599

PLUG,Exp, 2 3/8"

expansion, Welch, 60 mm O.D.

1шт.

12a

J926047

O-RING,0.07" Thk x 2.239" ID

O-RING sealing, 57 mm ID

1шт.

13

J920706

PLUG

expansion, 22 mm O.D., not used in this application

3шт.

14

J900257

PIN,10.01mm OD x 16mm L

dowel, 16 mm long, locating

1шт.

15

J902343

DOWEL

RING, 16 mm O.D.

1шт.

16

J900068

BEARING WASHER

RING, 18 mm O.D.

1шт.

17

J678923

PLUG,M10 x 1

hex socket, 10 mm

3шт.

17a

637-72081

O-RING,1.6mm Thk x 8.1mm ID, Cl 7, 75 Duro

1шт.

18

A77429

PLUG

hex socket, 1/2 inch PT

1шт.

18a

J678921

PLUG

hex socket, 14 mm

1шт.

18b

J678912

O-RING,2.2mm Thk x 11.3mm ID

Sealing

1шт.

18c

J932296

PLUG

timing sensor hole

1шт.

18d

J330478

O-RING,0.07" Thk x 0.676" ID

sealing

1шт.

18e

844-8016

BOLT,Hex, M8 x 16mm, Cl 8.8

1шт.

18f

233426A1

PLUG,M10 x 1 ORB

hex, 10 mm, not shown, cylinder block

3шт.

18g

637-62081

O-RING,1.6mm Thk x 8.1mm ID, Cl 6, 90 Duro

Not shown, Cylinder block

3шт.

19

J931973

TUBE,0.875" OD

turbocharger oil drain, cylinder block

1шт.

19a

J931824

O-RING,0.07" Thk x 0.739" ID, -18, Cl 7, 75 Duro

O-RING sealing, 18 mm ID, cylinder block

1шт.

20

J900267

SEAL

cover bolt, cylinder block

4шт.

21

845-8016

BOLT,Hvy Hex, M8 x 16mm, Cl 8.8

Cylinder block

4шт.

22

J927913

COVER

tappet, cylinder block

1шт.

23

J907586

BAFFLE

tappet cover, use with J823494 sealant, see below, cylinder block

1шт.

The engine part number is stamped on a metal tag which is mounted on the front gear cover

1шт.

24

J928832

GASKET

tappet cover, cylinder block

1шт.

25

J918614

TUBE,435.00 mm

635 mm (25 inch) long, cylinder block

1шт.

26

J904230

CLAMP,25.4mm

spring, hose, cylinder block

1шт.

28

J934877

HYD CONNECTOR

water inlet, cylinder block

1шт.

29

J906697

SEAL,Square, 5.16mm Thk x 50.17mm ID

O-RING, 50 mm ID, cylinder block

1шт.

30

854-10075

BOLT,Hvy Hex, M10 x 75mm, Cl 10.9

BOLT heavy hex flange, 10 - 1.5 x 75 mm, class 10.9, cylinder block

3шт.

31

A77429

PLUG

hex socket, 1/2 inch PT, cylinder block

2шт.

32

J905786

DIPSTICK

engine oil, cylinder block

1шт.

33

A77645

TUBE

oil dipstick, at block, cylinder block

1шт.

34

J906696

SEAL,41mm ID x 43mm OD x 2.5mm H

O-RING, 38 mm (1-1/2 inch) ID, cylinder block

1шт.

35

854-12025

BOLT,Hvy Hex, M12 x 25mm, Cl 10.9

Heavy, Cylinder block

2шт.

36

J914762

TUBE,119.9, 147.3 mm L

oil fill, cylinder block

1шт.

37

A77424

FILLER CAP

CAP oil fill tube, cylinder block

1шт.

J823494

SEALANT

SEALANT Three Bond Silver RTV Adhesive/Sealer, 3 ounce tube, cylinder block

1шт.

The engine part number is stamped on a metal tag which is mounted on the front gear cover

1шт.

196803A1

KIT

engine block heater, cylinder block

1шт.

38

NSS

NOT SOLD SEPARAT

ELEMENT engine block heater, 120 volt, 750 watt

1шт.

39

196466A1

ELECTRIC CABLE

engine block heater

1шт.

40

J910517

O-RING

heater sealing, engine block heater

1шт.

309651A1

KIT

engine block heater

1шт.

41

NSS

NOT SOLD SEPARAT

ELEMENT engine block heater, 120 volt, 750 watt

1шт.

42

196466A1

ELECTRIC CABLE

engine block heater

1шт.

A77886

PACKAGE, REPAIR

KIT engine overhaul, includes Refs. 43 - 50, not shown

1шт.

43

J802747

PISTON & RINGS KIT,100MM PISTON DIAMETER

standard, see Fig. 10-36, engine overhaul kit

6шт.

44

J919053

PISTON PIN

piston, See Fig. 10-36, engine overhaul kit

6шт.

45

A77465

BEARING SET

KIT upper and lower set, standard, see Fig. 10-36, engine overhaul kit

6шт.

46

A77405

CRANKSHAFT BEARING

main, upper and lower set, standard, see Fig. 10-32, engine overhaul kit

6шт.

47

A77896

BEARING SET

main, upper and lower set, standard, see Fig. 10-32, engine overhaul kit

1шт.

48

A77925

GASKET KIT

valve grind, see Fig. 10-38, replaces A77871, engine overhaul kit

1шт.

49

J283335

GASKET,2.32mm Thk

head, standard, see Fig. 10-22, engine overhaul kit

1шт.

50

A77676

GASKET KIT

oil pan, see Fig. 10-20, engine overhaul kit

1шт.

Выбрано товаров: 78