Запчасти Case IH 8880HP (05-004) - NEUTRAL LOCK ASSEMBLY (21) - TRANSMISSION

Схема запчастей Case IH 8880HP - (05-004) - NEUTRAL LOCK ASSEMBLY (21) - TRANSMISSION
5
10
2
6
12
3
14
7
8
5
11
9
4
13
1
FIT
1:1
100%

Артикул

Название

Примечание

Количество

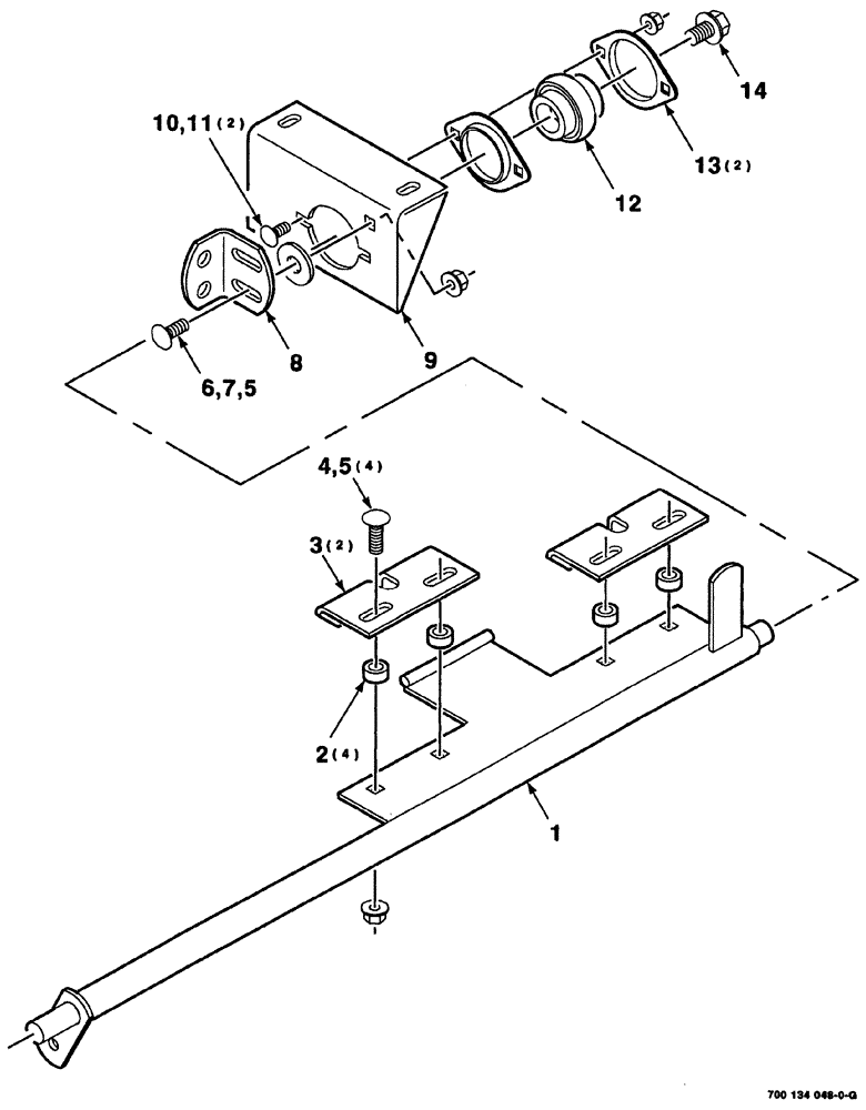
1

700134050

SHAFT

WA

1шт.

2

6893416

SPACER

4шт.

3

700134052

SUPPORT

2шт.

4

433-620

CARRIAGE BOLT,Sq Nk, 3/8" - 16 x 1 1/4", Gr 5

4шт.

5

232-5316

FLANGE NUT,Flg, 3/8"-16

3/8-16, HFTLN, GR/G

5шт.

6

434-616

CARRIAGE BOLT,Sht Sq Nk, 3/8" - 16 x 1", Gr 5

1шт.

7

700711557

WASHER

hardened wide plain, 1/2

1шт.

8

700130068

MOUNTING CLIP

switch

1шт.

9

700134051

SUPPORT

rear

1шт.

10

433-512

CARRIAGE BOLT,Sq Nk, 5/16" - 18 x 3/4", Gr 5

2шт.

11

232-5315

FLANGE NUT,Flg, 5/16"-18

5/16-18, HFTLN, GR/G

2шт.

12

455957R92

BEARING ASSY,19.05mm ID x 47mm OD x 14mm W

spherical

1шт.

13

469924R1

FLANGE

2шт.

14

409-7812

BOLT,Hex Flg, 1/2" - 13 x 3/4", Spcl

1/2-13 x 3/4 HFSS

1шт.

Выбрано товаров: 14