Запчасти Case IH 8880HP (05-008) - BRAKE ASSEMBLY (LEFT AND RIGHT) (33) - BRAKES & CONTROLS

Схема запчастей Case IH 8880HP - (05-008) - BRAKE ASSEMBLY (LEFT AND RIGHT) (33) - BRAKES & CONTROLS
4
2
6
8
4
5
1
7
3
9
10
11
FIT
1:1
100%

Артикул

Название

Примечание

Количество

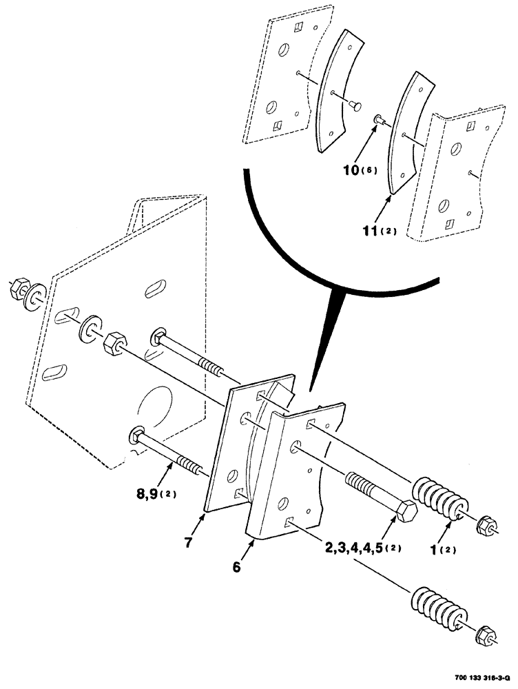
1

7758154

SPRING

compression

2шт.

2

413-636

BOLT,Hex, 3/8" - 16 x 2-1/4", Gr 5

2шт.

3

425-106

NUT,3/8"-16, Cl 5

2шт.

4

496-11028

WASHER,9/32" x 5/8" x .065, HDN

hardened plain, 3/8

4шт.

5

425-146

JAM NUT,3/8" - 16, Gr 5

2шт.

6

6553556

BRACKET

BRAKE ASSEMBLY, left, (Includes Refs. 10 and 11)

1шт.

7

6553572

BRAKE LINING

ASSEMBLY, right, (Includes Refs. 10 and 11)

1шт.

8

433-440

CARRIAGE BOLT,Sq Nk, 1/4" - 20 x 2 1/2", Gr 5

1/4-20 x 2-1/2, RHSNB

2шт.

9

1703354

NUT

1/4-20, HFTLN, GR/G

2шт.

10

64980

RIVET

6шт.

11

700711021

BRAKE LINING

brake

2шт.

Выбрано товаров: 0