Запчасти Case IH 8880HP (08-040) - HYDR. MASTER CYL. ASSY. - LEFT (3 INCH BORE X 5 INCH STROKE) (S.N. CFH0155001 THRU CFH0155349) (35) - HYDRAULIC SYSTEMS

Схема запчастей Case IH 8880HP - (08-040) - HYDR. MASTER CYL. ASSY. - LEFT (3 INCH BORE X 5 INCH STROKE) (S.N. CFH0155001 THRU CFH0155349) (35) - HYDRAULIC SYSTEMS
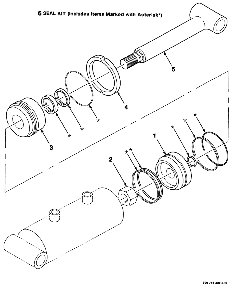
6
4
5
2
1
3
FIT
1:1
100%

Артикул

Название

Примечание

Количество

700715437

CYLINDER

hydraulic, complete (3 inch bore x 5 inch stroke)

1шт.

1

700716638

PISTON

1шт.

2

774315

NUT

HTLN, 7/8-14, GRC

1шт.

3

700716641

GUIDE

1шт.

4

700716642

NUT

spanner

1шт.

5

700716640

ROD

1шт.

6

700719627

SEAL KIT

KIT

1шт.

Выбрано товаров: 7