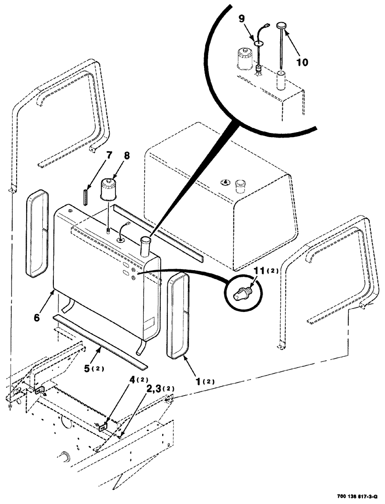
Запчасти Case IH 8880HP (08-048) - OIL RESERVOIR AND MOUNTING ASSEMBLY (35) - HYDRAULIC SYSTEMS

Схема запчастей Case IH 8880HP - (08-048) - OIL RESERVOIR AND MOUNTING ASSEMBLY (35) - HYDRAULIC SYSTEMS
8
3
4
5
11
10
2
6
9
7
1
FIT
1:1
100%

Артикул

Название

Примечание

Количество

1

700716573

STRAP

rubber

2шт.

2

409-7612

BOLT,3/8"-16 x 1.09" OAL

2шт.

3

232-5316

FLANGE NUT,Flg, 3/8"-16

3/8-16, HFTLN, GR/G

2шт.

4

700136873

STOP

reservoir

2шт.

5

700715472

STRAP

rubber

2шт.

6

700716570

RESERVOIR

OIL ASSEMBLY (Includes Decals and Refs. 9, 10 and 11)

1шт.

7

700105604

ADHESIVE STRIP

TRIM

1шт.

8

7825516

FILTER

1шт.

9

700718665

SENSOR

switch, level

1шт.

10

700718666

DIPSTICK

cap with

1шт.

11

8799439

GAUGE

sight

2шт.

Выбрано товаров: 11