Запчасти Case IH 8880HP (08-070) - HYDRAULIC VANE PUMP ASSEMBLY (35) - HYDRAULIC SYSTEMS

Схема запчастей Case IH 8880HP - (08-070) - HYDRAULIC VANE PUMP ASSEMBLY (35) - HYDRAULIC SYSTEMS
9
8
12
13
2
11
3
7
5
4
6
1
10
FIT
1:1
100%

Артикул

Название

Примечание

Количество

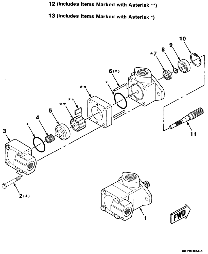
1

700713507

PUMP

VANE ASSEMBLY, complete

1шт.

2

1712736

BOLT

3/8-16 x 3, C, grade 8

4шт.

3

700713500

COVER

1шт.

4

7033764

SPRING

1шт.

5

7033756

PLATE

pressure, S/A

1шт.

6

700713504

PIN

2шт.

7

700713509

SEAL

shaft

1шт.

8

H748665

SNAP RING,#66, Ext

#66, Ext

1шт.

9

F37843

BEARING

1шт.

10

100-21156

SNAP RING,1.562", Int, #156

1шт.

11

700713508

SHAFT

1шт.

12

700701909

KIT

cartridge, Includes items in art marked with double asterisk

1шт.

13

7033681

KIT

seal, Includes items in art marked with asterisk

1шт.

Выбрано товаров: 13